
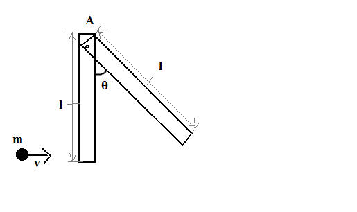
A rod of mass $m$ is hinged at upper end A as shown in the figure. A point object mass $m$ strike at the lower end and stops. The maximum angle through which the rod will rotate (Given${v^2} < \dfrac{{2gl}}{3}$)

A) ${\cos ^{ - 1}}(1 - \dfrac{{3{v^2}}}{{2gl}})$
B) ${\cos ^{ - 1}}(1 - \dfrac{{3{v^2}}}{{gl}})$
C) ${\cos ^{ - 1}}(1 - \dfrac{{{v^2}}}{{2gl}})$
D) ${\cos ^{ - 1}}(1 - \dfrac{{{v^2}}}{{gl}})$
Answer
214.5k+ views
Hint: Conservation of momentum, general law of physics in which there are no changes in an isolated object collection in the quantity called momentum, which characterises motion; namely the overall momentum of a system remains constant. Mullion is equal to the mass of an object multiplied by its speed and corresponds to the force needed in order to stop the object in a unit duration
Complete step by step solution:
The conservation of momentum and the conservation of energy and mass is a central principle of physics. Momentum is known as an object's mass multiplied by the object's speed. Momentum preservation indicates that the amount of momentum remains constant in some problem field; momentum is not created nor destroyed, but only changed through forces, as defined by Newton's laws of movement. It is harder to deal with momentum than mass and energy, as momentum is both a large and a directional vector quantity. In all three physical directions the momentum is maintained simultaneously. When dealing with gases, it is still more difficult because forces in one direction can influence momentum in another because of the collisions between many molecules. We will present a very, very simplified flow issue on this slide, where properties shift only in one direction.
Momentum conservation,
$mv = m {v_1} $
Where $m$ is the mass and $v, {v_1} $ is the velocity
${v_1} = v$
$mgh = \dfrac{1}{2}m{v_1}^2$
Where $h$ is the height
$mgh = \dfrac{1}{2}m{v^2}$
$h = \dfrac{l}{2} - \dfrac{l}{2}\cos \theta $
$mg\dfrac {l} {2} (1 - \cos \theta) = \dfrac{{m{v^2}}}{2}$
$\theta = {\cos ^ {- 1}} (1 - \dfrac{{{v^2}}}{{gl}})$
Note: The conservation of angular momentum is also fully determined by experimentation and can show mathematically that space is uniform in orientation, which means that there is nothing in the laws of nature which defines one direction of space as peculiar to any other.
Complete step by step solution:
The conservation of momentum and the conservation of energy and mass is a central principle of physics. Momentum is known as an object's mass multiplied by the object's speed. Momentum preservation indicates that the amount of momentum remains constant in some problem field; momentum is not created nor destroyed, but only changed through forces, as defined by Newton's laws of movement. It is harder to deal with momentum than mass and energy, as momentum is both a large and a directional vector quantity. In all three physical directions the momentum is maintained simultaneously. When dealing with gases, it is still more difficult because forces in one direction can influence momentum in another because of the collisions between many molecules. We will present a very, very simplified flow issue on this slide, where properties shift only in one direction.
Momentum conservation,
$mv = m {v_1} $
Where $m$ is the mass and $v, {v_1} $ is the velocity
${v_1} = v$
$mgh = \dfrac{1}{2}m{v_1}^2$
Where $h$ is the height
$mgh = \dfrac{1}{2}m{v^2}$
$h = \dfrac{l}{2} - \dfrac{l}{2}\cos \theta $
$mg\dfrac {l} {2} (1 - \cos \theta) = \dfrac{{m{v^2}}}{2}$
$\theta = {\cos ^ {- 1}} (1 - \dfrac{{{v^2}}}{{gl}})$
Note: The conservation of angular momentum is also fully determined by experimentation and can show mathematically that space is uniform in orientation, which means that there is nothing in the laws of nature which defines one direction of space as peculiar to any other.
Recently Updated Pages
Chemical Equation - Important Concepts and Tips for JEE

JEE Main 2022 (July 29th Shift 1) Chemistry Question Paper with Answer Key

Conduction, Transfer of Energy Important Concepts and Tips for JEE

JEE Analytical Method of Vector Addition Important Concepts and Tips

Atomic Size - Important Concepts and Tips for JEE

JEE Main 2022 (June 29th Shift 1) Maths Question Paper with Answer Key

Trending doubts
JEE Main 2026: Application Form Open, Exam Dates, Syllabus, Eligibility & Question Papers

JEE Main Correction Window 2026 Session 1 Dates Announced - Edit Form Details, Dates and Link

Equation of Trajectory in Projectile Motion: Derivation & Proof

JEE Main 2026 Application Login: Direct Link, Registration, Form Fill, and Steps

Hybridisation in Chemistry – Concept, Types & Applications

Angle of Deviation in a Prism – Formula, Diagram & Applications

Other Pages
JEE Advanced Marks vs Ranks 2025: Understanding Category-wise Qualifying Marks and Previous Year Cut-offs

Units And Measurements Class 11 Physics Chapter 1 CBSE Notes - 2025-26

NCERT Solutions For Class 11 Physics Chapter 8 Mechanical Properties Of Solids

Motion in a Straight Line Class 11 Physics Chapter 2 CBSE Notes - 2025-26

NCERT Solutions for Class 11 Physics Chapter 7 Gravitation 2025-26

Collision: Meaning, Types & Examples in Physics

