
It becomes easier to open or close a door turning about its hinges if the forces is applied at the:
(A) Two third of the door
(B) Free edge of the door
(C) Middle of the door
(D) Point near the hinges
Answer
218.7k+ views
Hint In the question it is given that it is easier to open or close a door turning about its hinges. So we can say that the torque is acting at the hinge of the door, since torque is the twisting or turning force. So determine the answer by applying the conditions on the torque formula.
Complete step by step answer
Torque is the force that makes an object rotate about an axis. Torque causes an angular acceleration. Torque can be defined as the rotational equivalent of linear force. The torque is capability of a force to turn or twist
The torque is given by
$ \Rightarrow \tau = r \times F$
$ \Rightarrow \tau = r \times F\sin \theta $
$\tau $ is the torque
r is the position vector
F is the force
$\theta $ is the angle between force and vector
Since, torque is capability of a force to turn or twist the torque is maximum when the force and position vector is high
The position vector “r” is the distance between the application of force and the torque
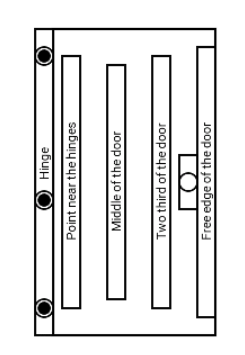
From the diagram we can see,

The torque is acting on the hinge of the door.
The distance between the points near the hinge of the door and the point where the torque is acting is small.
The distance between the middle portion of the door and the point where the torque is acting is 2 times the distance between the points near the hinge of the door and the point where the torque is acting.
The distance between the point at two third portions of the door and the point where the torque is acting is 3 times the distance between the middle portion of the door and the point where the torque is acting.
The distance between the point at the free edge of the door and the point where the torque is acting is larger than that of other options which are discussed above
r is large when the force is applied at the free edge of the door
According to the formula, the torque is high when force is applied at the free edge of the door
When the torque is high it will be easy to open or close the door.
Hence the correct option is (B) Free edge of the door
Note It will be very easy if we draw a diagram by imagining the given condition so that we can clearly determine the position vector. The boxes with labels represent the points where the force acts.
Complete step by step answer
Torque is the force that makes an object rotate about an axis. Torque causes an angular acceleration. Torque can be defined as the rotational equivalent of linear force. The torque is capability of a force to turn or twist
The torque is given by
$ \Rightarrow \tau = r \times F$
$ \Rightarrow \tau = r \times F\sin \theta $
$\tau $ is the torque
r is the position vector
F is the force
$\theta $ is the angle between force and vector
Since, torque is capability of a force to turn or twist the torque is maximum when the force and position vector is high
The position vector “r” is the distance between the application of force and the torque
From the diagram we can see,

The torque is acting on the hinge of the door.
The distance between the points near the hinge of the door and the point where the torque is acting is small.
The distance between the middle portion of the door and the point where the torque is acting is 2 times the distance between the points near the hinge of the door and the point where the torque is acting.
The distance between the point at two third portions of the door and the point where the torque is acting is 3 times the distance between the middle portion of the door and the point where the torque is acting.
The distance between the point at the free edge of the door and the point where the torque is acting is larger than that of other options which are discussed above
r is large when the force is applied at the free edge of the door
According to the formula, the torque is high when force is applied at the free edge of the door
When the torque is high it will be easy to open or close the door.
Hence the correct option is (B) Free edge of the door
Note It will be very easy if we draw a diagram by imagining the given condition so that we can clearly determine the position vector. The boxes with labels represent the points where the force acts.
Recently Updated Pages
Two discs which are rotating about their respective class 11 physics JEE_Main

A ladder rests against a frictionless vertical wall class 11 physics JEE_Main

Two simple pendulums of lengths 1 m and 16 m respectively class 11 physics JEE_Main

The slopes of isothermal and adiabatic curves are related class 11 physics JEE_Main

A trolly falling freely on an inclined plane as shown class 11 physics JEE_Main

The masses M1 and M2M2 M1 are released from rest Using class 11 physics JEE_Main

Trending doubts
JEE Main 2026: Application Form Open, Exam Dates, Syllabus, Eligibility & Question Papers

Derivation of Equation of Trajectory Explained for Students

Hybridisation in Chemistry – Concept, Types & Applications

Understanding the Angle of Deviation in a Prism

Understanding Collisions: Types and Examples for Students

Understanding Atomic Structure for Beginners

Other Pages
JEE Advanced Marks vs Ranks 2025: Understanding Category-wise Qualifying Marks and Previous Year Cut-offs

Units And Measurements Class 11 Physics Chapter 1 CBSE Notes - 2025-26

NCERT Solutions For Class 11 Physics Chapter 8 Mechanical Properties Of Solids

Motion in a Straight Line Class 11 Physics Chapter 2 CBSE Notes - 2025-26

NCERT Solutions for Class 11 Physics Chapter 7 Gravitation 2025-26

How to Convert a Galvanometer into an Ammeter or Voltmeter

