
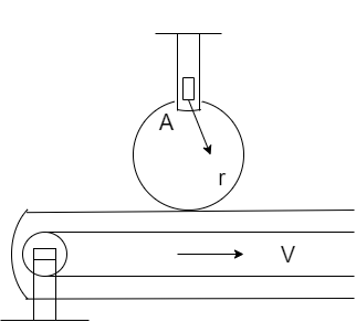
Disk A has a mass of $4kg$ and a radius $r = 75mm$, it is at rest, when it is placed in contact with the belt which moves at a constant speed $v = 18m/s$. Knowing that ${\mu _k} = 0.25$ between the disk and the belt, determine the number of revolutions executed by the disk before it reaches a constant angular velocity. (Assume that the normal reaction by the belt on the disc is equal to weight of the disc).

Answer
232.8k+ views
Hint: Recall that torque is defined as the amount of force required to cause the rotation of an object. Also when the belt and disc are in contact with each other then, the disc experiences a force of kinetic friction in a direction opposite to the direction of its motion. This is known as kinetic friction.
Complete step by step solution:
Step I:
Given that the
Mass of the disc is $M = 4kg$
Radius of disc $R = 75 \times {10^{ - 3}}m$
Speed of belt, $v = 18m/s$
Coefficient of kinetic friction ${\mu _k} = 0.25$
Step II:
Since kinetic friction occurs, so the force between belt and disc is equal to the weight. Therefore, the amount of torque due to friction will be
$\tau = {\mu _k} \times R$
Substituting the values in the formula,
$\Rightarrow$ $\tau = 0.25 \times 40 \times 75 \times {10^{ - 3}}$
$\Rightarrow$ $\tau = 0.75Nm$
Step III:
According to Newton’s second law of motion, the net force acting on an object is directly proportional to the mass and the acceleration of the object. Applying Newton’s second law,
$\tau = I\alpha $
Where I is the moment of inertia
And $\alpha $is the angular acceleration of the disc
$\Rightarrow$ $0.75 = \dfrac{{M{R^2}}}{2} \times \alpha $
$\Rightarrow$ $\dfrac{{75}}{{100}} = \dfrac{{4 \times 5625 \times {{10}^{ - 6}}}}{2}\alpha $
$\Rightarrow$ $\alpha = \dfrac{{2 \times {{10}^4}}}{{4 \times 75 \times 100}}$
$\Rightarrow$ $\alpha = \dfrac{{2 \times 10000}}{{4 \times 75 \times 100}}$
$\Rightarrow$ $\alpha = \dfrac{{2 \times 100}}{{300}}$
$\Rightarrow$ $\alpha = 66.66\% $
Step IV:
Also the angular velocity of an object means how fast an object rotates with respect to some reference point. It depends on how fast the object changes its position with time. Therefore, angular velocity is given as
$\Rightarrow$ $\omega = \dfrac{V}{r}$
$\Rightarrow$ $\omega = \dfrac{{18}}{{75}} \times {10^{ - 3}}$
$\Rightarrow$ $\omega = \dfrac{{8000}}{{75}} = 240$
Step V:
$\Rightarrow$ ${\omega ^2} = 2\alpha \theta $
$\Rightarrow$ $\theta = \dfrac{{{\omega ^2}}}{{2\alpha }}$
$\Rightarrow$ $\theta = \dfrac{{{{(240)}^2}}}{{2 \times 66.66}}$
$\Rightarrow$ $\theta = 137.52$
The number of revolutions are $137.52$.
Note: It is important to remember that the term kinetic friction is also known as sliding friction. This type of friction is very important for moving objects. Also the magnitude of the frictional force will depend on the coefficient of kinetic friction of the two bodies in contact. The coefficient of kinetic friction is unitless and represented by the symbol ‘mu’ with subscript ‘k’, ${\mu _k}$.
Complete step by step solution:
Step I:
Given that the
Mass of the disc is $M = 4kg$
Radius of disc $R = 75 \times {10^{ - 3}}m$
Speed of belt, $v = 18m/s$
Coefficient of kinetic friction ${\mu _k} = 0.25$
Step II:
Since kinetic friction occurs, so the force between belt and disc is equal to the weight. Therefore, the amount of torque due to friction will be
$\tau = {\mu _k} \times R$
Substituting the values in the formula,
$\Rightarrow$ $\tau = 0.25 \times 40 \times 75 \times {10^{ - 3}}$
$\Rightarrow$ $\tau = 0.75Nm$
Step III:
According to Newton’s second law of motion, the net force acting on an object is directly proportional to the mass and the acceleration of the object. Applying Newton’s second law,
$\tau = I\alpha $
Where I is the moment of inertia
And $\alpha $is the angular acceleration of the disc
$\Rightarrow$ $0.75 = \dfrac{{M{R^2}}}{2} \times \alpha $
$\Rightarrow$ $\dfrac{{75}}{{100}} = \dfrac{{4 \times 5625 \times {{10}^{ - 6}}}}{2}\alpha $
$\Rightarrow$ $\alpha = \dfrac{{2 \times {{10}^4}}}{{4 \times 75 \times 100}}$
$\Rightarrow$ $\alpha = \dfrac{{2 \times 10000}}{{4 \times 75 \times 100}}$
$\Rightarrow$ $\alpha = \dfrac{{2 \times 100}}{{300}}$
$\Rightarrow$ $\alpha = 66.66\% $
Step IV:
Also the angular velocity of an object means how fast an object rotates with respect to some reference point. It depends on how fast the object changes its position with time. Therefore, angular velocity is given as
$\Rightarrow$ $\omega = \dfrac{V}{r}$
$\Rightarrow$ $\omega = \dfrac{{18}}{{75}} \times {10^{ - 3}}$
$\Rightarrow$ $\omega = \dfrac{{8000}}{{75}} = 240$
Step V:
$\Rightarrow$ ${\omega ^2} = 2\alpha \theta $
$\Rightarrow$ $\theta = \dfrac{{{\omega ^2}}}{{2\alpha }}$
$\Rightarrow$ $\theta = \dfrac{{{{(240)}^2}}}{{2 \times 66.66}}$
$\Rightarrow$ $\theta = 137.52$
The number of revolutions are $137.52$.
Note: It is important to remember that the term kinetic friction is also known as sliding friction. This type of friction is very important for moving objects. Also the magnitude of the frictional force will depend on the coefficient of kinetic friction of the two bodies in contact. The coefficient of kinetic friction is unitless and represented by the symbol ‘mu’ with subscript ‘k’, ${\mu _k}$.
Recently Updated Pages
States of Matter Chapter For JEE Main Chemistry

JEE Main Participating Colleges 2026 - A Complete List of Top Colleges

Circuit Switching vs Packet Switching: Key Differences Explained

Mass vs Weight: Key Differences Explained for Students

[Awaiting the three content sources: Ask AI Response, Competitor 1 Content, and Competitor 2 Content. Please provide those to continue with the analysis and optimization.]

Sign up for JEE Main 2026 Live Classes - Vedantu

Trending doubts
JEE Main 2026: Admit Card Out, City Intimation Slip, Exam Dates, Syllabus & Eligibility

JEE Main 2026 Application Login: Direct Link, Registration, Form Fill, and Steps

JEE Main Marking Scheme 2026- Paper-Wise Marks Distribution and Negative Marking Details

Understanding the Angle of Deviation in a Prism

Hybridisation in Chemistry – Concept, Types & Applications

How to Convert a Galvanometer into an Ammeter or Voltmeter

Other Pages
JEE Advanced Marks vs Ranks 2025: Understanding Category-wise Qualifying Marks and Previous Year Cut-offs

Laws of Motion Class 11 Physics Chapter 4 CBSE Notes - 2025-26

Waves Class 11 Physics Chapter 14 CBSE Notes - 2025-26

Mechanical Properties of Fluids Class 11 Physics Chapter 9 CBSE Notes - 2025-26

Thermodynamics Class 11 Physics Chapter 11 CBSE Notes - 2025-26

Units And Measurements Class 11 Physics Chapter 1 CBSE Notes - 2025-26

