
Find the weight of a lead pipe $ 3.5{\text{ m}} $ long, if the external diameter of the pipe is $ 2.4{\text{ cm}} $ and the thickness of the lead is $ 2{\text{ mm}} $ and $ 1{\text{ cu cm}} $ of lead weights $ 11{\text{ g}} $ .
Answer
582.9k+ views
Hint: In this question we have to find the total weight of the lead pipe. The dimensions of the lead pipe are given also the weight of 1 cubic centimetres of lead pipe is given, so first we calculate the total volume of the lead pipe then we can find the total weight of the lead pipe easily. The shape of the lead pipe is the same as the hollow cylinder so the volume of the lead pipe is equal to the volume of the hollow cylinder.
Complete step-by-step answer:
Given:
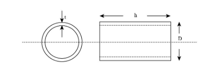
Let us assume the height of the lead pipe is $ h $ , the external diameter of the lead pipe is $ D $ , thickness of the lead pipe is $ t $ and the weight of 1 cubic centimetres of lead is $ w $ .
The height of the lead pipe
$
\Rightarrow h = 3.5{\text{ m}}\\
\Rightarrow h = 350{\text{ cm}}
$
The external diameter of the pipe
$ \Rightarrow D = 2.4{\text{ cm}} $
So, the external radius $ \left( R \right) $ of the pipe
\[
\Rightarrow R = \dfrac{D}{2}\\
\Rightarrow R = \dfrac{{2.4}}{2}\\
\Rightarrow R = 1.2{\text{ cm}}
\]
Thickness of the lead pipe
$
t = 2{\text{ mm}}\\
\Rightarrow t = 0.2{\text{ cm}}
$
So, the inner radius $ \left( r \right) $ of the pipe
$
\Rightarrow r = \left( {R - t} \right)\\
\Rightarrow r = \left( {1.2 - 0.2} \right)\\
\Rightarrow r = 1{\text{ cm}}
$
Also given,
The weight of $ 1{\text{ cu cm}} $ lead $ w = 11{\text{ g}} $
We know that the lead pipe is equivalent to a hollow cylinder. So, the volume of the lead pipe is equal to the volume of the hollow cylinder.
The formula for the hollow cylinder is given by –
$ V = \pi \left( {{R^2} - {r^2}} \right)h $
Substituting the values in this formula we get,
$
\Rightarrow V = \dfrac{{22}}{7} \times \left( {{{1.2}^2} - {1^2}} \right) \times 350\\
\Rightarrow V = 484{\text{ c}}{{\text{m}}^3}
$
Now we know that the weight of $ 1{\text{ c}}{{\text{m}}^3} $ lead $ w = 11{\text{ g}} $ .
So, the weight of $ 484{\text{ c}}{{\text{m}}^3} $ lead will be
$
\Rightarrow W = 484 \times w\\
\Rightarrow W = 484 \times 11{\text{ g}}\\
\Rightarrow W = 5324{\text{ g}}
$
Therefore, the total weight of the given lead pipe is $ 5324{\text{ g}} $ .
So, the correct answer is “ $ 5324{\text{ g}} $ ”.
Note: It should be noted that since the weight of the lead pipe is given in per cubic centimetres so in order to avoid any complications in the calculation, we convert all the values of the dimensions into centimetres. The formula used for unit conversion is given below –
$
1{\text{ m = 100 cm}}\\
{\text{1 cm = 10 mm}}
$
Complete step-by-step answer:
Given:
Let us assume the height of the lead pipe is $ h $ , the external diameter of the lead pipe is $ D $ , thickness of the lead pipe is $ t $ and the weight of 1 cubic centimetres of lead is $ w $ .
The height of the lead pipe
$
\Rightarrow h = 3.5{\text{ m}}\\
\Rightarrow h = 350{\text{ cm}}
$
The external diameter of the pipe
$ \Rightarrow D = 2.4{\text{ cm}} $
So, the external radius $ \left( R \right) $ of the pipe
\[
\Rightarrow R = \dfrac{D}{2}\\
\Rightarrow R = \dfrac{{2.4}}{2}\\
\Rightarrow R = 1.2{\text{ cm}}
\]
Thickness of the lead pipe
$
t = 2{\text{ mm}}\\
\Rightarrow t = 0.2{\text{ cm}}
$
So, the inner radius $ \left( r \right) $ of the pipe
$
\Rightarrow r = \left( {R - t} \right)\\
\Rightarrow r = \left( {1.2 - 0.2} \right)\\
\Rightarrow r = 1{\text{ cm}}
$
Also given,
The weight of $ 1{\text{ cu cm}} $ lead $ w = 11{\text{ g}} $
We know that the lead pipe is equivalent to a hollow cylinder. So, the volume of the lead pipe is equal to the volume of the hollow cylinder.
The formula for the hollow cylinder is given by –
$ V = \pi \left( {{R^2} - {r^2}} \right)h $
Substituting the values in this formula we get,
$
\Rightarrow V = \dfrac{{22}}{7} \times \left( {{{1.2}^2} - {1^2}} \right) \times 350\\
\Rightarrow V = 484{\text{ c}}{{\text{m}}^3}
$
Now we know that the weight of $ 1{\text{ c}}{{\text{m}}^3} $ lead $ w = 11{\text{ g}} $ .
So, the weight of $ 484{\text{ c}}{{\text{m}}^3} $ lead will be
$
\Rightarrow W = 484 \times w\\
\Rightarrow W = 484 \times 11{\text{ g}}\\
\Rightarrow W = 5324{\text{ g}}
$
Therefore, the total weight of the given lead pipe is $ 5324{\text{ g}} $ .
So, the correct answer is “ $ 5324{\text{ g}} $ ”.
Note: It should be noted that since the weight of the lead pipe is given in per cubic centimetres so in order to avoid any complications in the calculation, we convert all the values of the dimensions into centimetres. The formula used for unit conversion is given below –
$
1{\text{ m = 100 cm}}\\
{\text{1 cm = 10 mm}}
$
Recently Updated Pages
Basicity of sulphurous acid and sulphuric acid are

Master Class 11 Business Studies: Engaging Questions & Answers for Success

Master Class 11 Computer Science: Engaging Questions & Answers for Success

Master Class 11 Economics: Engaging Questions & Answers for Success

Master Class 12 English: Engaging Questions & Answers for Success

Master Class 12 Social Science: Engaging Questions & Answers for Success

Trending doubts
Fill the blanks with the suitable prepositions 1 The class 9 english CBSE

Difference Between Plant Cell and Animal Cell

Find the sum of series 1 + 2 + 3 + 4 + 5 + + 100 class 9 maths CBSE

Distinguish between Conventional and nonconventional class 9 social science CBSE

Find the greatest fivedigit number which is a perfect class 9 maths CBSE

Find the mode and median of the data 13 16 12 14 1-class-9-maths-CBSE


