
Which of the following statements is correct?
A. The balls will execute simple harmonic motion between the two plates
B. The balls will bounce back to the bottom plate carrying the same charge they went up with
C. The balls will stick to the top plate an remain there
D. The balls will bounce back to the bottom plate carrying the opposite charge they went up with
Answer
566.4k+ views
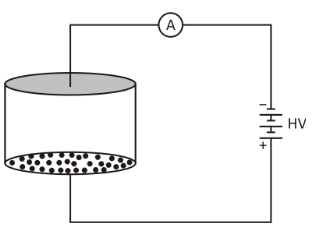
Hint:In this case, we will take the coefficient of restitution to be zero as the balls are light in weight. The electric field generated inside the chamber can be taken as a parallel plate capacitor. We know, charges of opposite polarity attract each other.
Complete answer:
Balls put on a positive plate are charged positively and travel upwards because of the electric field. These balls are negatively charged when colliding with a negative plate and pass in the opposite direction of the electric field. The balls are considered to be lightweight and they are coated with some conducting material. After the electric current is allowed to pass, the ball will also be positively charged along with the plate and they will be repelled by the plate.
Hence, the answer is the balls will bounce back to the bottom plate carrying the opposite charge they went up with, option D.
Additional information:
Electric field: An electric field (E-field is often the physical field surrounding each electric charge and exerting force on all other charges in the field, either attracting or repelling them. Electric fields arise from electric charges or from magnetic fields that differ in time. Electric fields and magnetic fields are also electromagnetic force manifestations, one of the four fundamental forces (or one of the four fundamental forces).
Note:Remember that an electric field is an elegant way of characterizing a charging system's electrical environment. At any point in the space around a charging device, the electric field reflects the force that a positive unit test charge will feel if mounted at that point.
Complete answer:
Balls put on a positive plate are charged positively and travel upwards because of the electric field. These balls are negatively charged when colliding with a negative plate and pass in the opposite direction of the electric field. The balls are considered to be lightweight and they are coated with some conducting material. After the electric current is allowed to pass, the ball will also be positively charged along with the plate and they will be repelled by the plate.
Hence, the answer is the balls will bounce back to the bottom plate carrying the opposite charge they went up with, option D.
Additional information:
Electric field: An electric field (E-field is often the physical field surrounding each electric charge and exerting force on all other charges in the field, either attracting or repelling them. Electric fields arise from electric charges or from magnetic fields that differ in time. Electric fields and magnetic fields are also electromagnetic force manifestations, one of the four fundamental forces (or one of the four fundamental forces).
Note:Remember that an electric field is an elegant way of characterizing a charging system's electrical environment. At any point in the space around a charging device, the electric field reflects the force that a positive unit test charge will feel if mounted at that point.
Recently Updated Pages
Complete reduction of benzene diazonium chloride with class 12 chemistry CBSE

How can you identify optical isomers class 12 chemistry CBSE

The coating formed on the metals such as iron silver class 12 chemistry CBSE

Metals are refined by using different methods Which class 12 chemistry CBSE

What do you understand by denaturation of proteins class 12 chemistry CBSE

Assertion Nitrobenzene is used as a solvent in FriedelCrafts class 12 chemistry CBSE

Trending doubts
What are the major means of transport Explain each class 12 social science CBSE

RNA and DNA are chiral molecules their chirality is class 12 chemistry CBSE

RNA and DNA are chiral molecules their chirality is class 12 chemistry CBSE

India is a sovereign socialist secular democratic republic class 12 social science CBSE

The correct structure of ethylenediaminetetraacetic class 12 chemistry CBSE

How many states of matter are there in total class 12 chemistry CBSE

