
Draw a labelled circuit diagram of a potentiometer to compare emfs of two cells. Write the working formula (Derivation not required).
Answer
589.8k+ views
Hint: A potentiometer consists of a galvanometer, a variable resistance, a battery. In the circuit for the comparison of the emfs of the two cells, the circuit will comprise two cells as well.
Complete step by step solution:
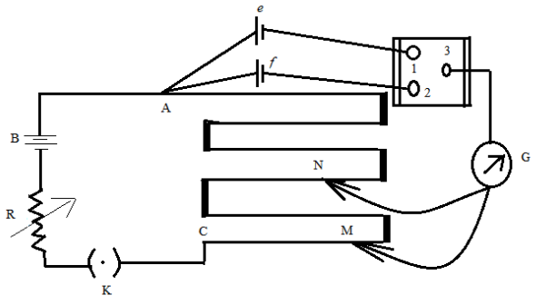
Figure: A potentiometer circuit designed for comparing emfs of two cells.
In the above figure, the wires run from point A to point C. The small vertical portions are metal strips connecting various sections of the wire. B is the battery, R is the variable resistance (the arrow indicates variable resistance) which is also known as the rheostat. e and f are the two cells whose emfs are to be compared. G is the galvanometer and N and M are the two points to which the galvanometer jockey is connected. The points marked 1,2 and 3 form a way key. K is the key of the circuit.
Working formula:
If ${{\varepsilon }_{1}}$ is the emf of cell e and ${{\varepsilon }_{2}}$is the emf of cell f, then the formula for comparison is given as,
$\dfrac{{{\varepsilon }_{1}}}{{{\varepsilon }_{2}}}=\dfrac{{{l}_{1}}}{{{l}_{2}}}$
where, ${{l}_{1}}$ and ${{l}_{2}}$ are the distances of point N and M respectively from point A.
Additional Information:
There is also an arrangement of potentiometers for determining the internal resistance of a cell, where we do not need to incorporate the two cells.
Note: Students must note that ${{l}_{1}}$ and ${{l}_{2}}$ are the distances from point A and not from the galvanometer G or point C. And to represent the variable resistance, it is always necessary to give the arrow across the resistance, else it does not represent a variable resistance.
Complete step by step solution:
Figure: A potentiometer circuit designed for comparing emfs of two cells.
In the above figure, the wires run from point A to point C. The small vertical portions are metal strips connecting various sections of the wire. B is the battery, R is the variable resistance (the arrow indicates variable resistance) which is also known as the rheostat. e and f are the two cells whose emfs are to be compared. G is the galvanometer and N and M are the two points to which the galvanometer jockey is connected. The points marked 1,2 and 3 form a way key. K is the key of the circuit.
Working formula:
If ${{\varepsilon }_{1}}$ is the emf of cell e and ${{\varepsilon }_{2}}$is the emf of cell f, then the formula for comparison is given as,
$\dfrac{{{\varepsilon }_{1}}}{{{\varepsilon }_{2}}}=\dfrac{{{l}_{1}}}{{{l}_{2}}}$
where, ${{l}_{1}}$ and ${{l}_{2}}$ are the distances of point N and M respectively from point A.
Additional Information:
There is also an arrangement of potentiometers for determining the internal resistance of a cell, where we do not need to incorporate the two cells.
Note: Students must note that ${{l}_{1}}$ and ${{l}_{2}}$ are the distances from point A and not from the galvanometer G or point C. And to represent the variable resistance, it is always necessary to give the arrow across the resistance, else it does not represent a variable resistance.
Recently Updated Pages
A man running at a speed 5 ms is viewed in the side class 12 physics CBSE

The number of solutions in x in 02pi for which sqrt class 12 maths CBSE

State and explain Hardy Weinbergs Principle class 12 biology CBSE

Write any two methods of preparation of phenol Give class 12 chemistry CBSE

Which of the following statements is wrong a Amnion class 12 biology CBSE

Differentiate between action potential and resting class 12 biology CBSE

Trending doubts
What are the major means of transport Explain each class 12 social science CBSE

Which are the Top 10 Largest Countries of the World?

Draw a labelled sketch of the human eye class 12 physics CBSE

Explain sex determination in humans with line diag class 12 biology CBSE

Explain sex determination in humans with the help of class 12 biology CBSE

Differentiate between homogeneous and heterogeneous class 12 chemistry CBSE

