
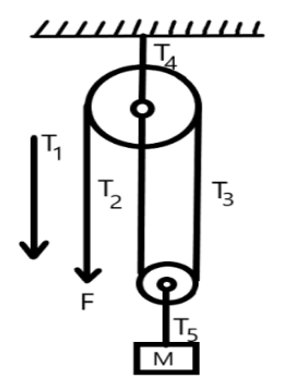
A mass $M$ is held in place by an applied force $F$ and a pulley system as shown in figure. The pulley are massless and frictionless.
(a) Draw a free body diagram for each pulley
(b) Find tension in each section of rope ${T_1}$ , ${T_2}$ , ${T_3}$ , ${T_4}$
(c) Find the magnitude of $F$
Answer
551.1k+ views
Hint: Here, a mass is attached by a string which rolls over the pulley. Here, different tensions will occur in each rope. All, the tensions will act downwards except ${T_4}$ as it is acting in the upward direction. As shown in the figure, the force $F$ will be equal to the tension ${T_1}$.
Complete step by step answer:
Consider a mass which is held by a pulley with a massless string which is shown below
(a) Now, the free diagram of the system shown above is given below
Here all the forces are working in the vertical direction. Now, as the pulleys are massless and frictionless, therefore, the tension in the strings will be the same along the full rope. Also, the downward will be equal to the three tensions that will put the mass. Therefore, $F - {T_1} = 0$
(b) Now, the rope will go through the pulley, therefore, the net force acting downward will be
${T_4} = {T_1} + {T_2} + {T_3}$
Now, the tensions ${T_1}$ , ${T_2}$ and ${T_3}$ are acting downward, therefore, all the tensions will be equal to the weight of the pulley and is given by
${T_1} = {T_2} = {T_3} = \dfrac{{Mg}}{2}$
Therefore the first equation will become
${T_4} = \dfrac{{Mg}}{2} + \dfrac{{Mg}}{2} + \dfrac{{Mg}}{2}$
$ \Rightarrow \,{T_4} = \dfrac{{3Mg}}{2}$
Therefore, the tension in each rope is ${T_1} = \dfrac{{Mg}}{2}$ , ${T_2} = \dfrac{{Mg}}{2}$ , ${T_3} = \dfrac{{Mg}}{2}$ and ${T_4} = \dfrac{{3Mg}}{2}$
(c) Now, from the option (a) we can say that the magnitude of force is given by
$F = {T_1}$
$ \therefore F = \dfrac{{Mg}}{2}$
Therefore the magnitude is $\dfrac{{Mg}}{2}$ .
Note:Here, we have not talked about the tension ${T_5}$ as it is in the same direction as that of the tension ${T_4}$. Also, it will be equal to the mass of the body that is hanged, that is, ${T_5} = Mg$ . Also, the above system is frictionless and is not rotating.
Complete step by step answer:
Consider a mass which is held by a pulley with a massless string which is shown below
(a) Now, the free diagram of the system shown above is given below
Here all the forces are working in the vertical direction. Now, as the pulleys are massless and frictionless, therefore, the tension in the strings will be the same along the full rope. Also, the downward will be equal to the three tensions that will put the mass. Therefore, $F - {T_1} = 0$
(b) Now, the rope will go through the pulley, therefore, the net force acting downward will be
${T_4} = {T_1} + {T_2} + {T_3}$
Now, the tensions ${T_1}$ , ${T_2}$ and ${T_3}$ are acting downward, therefore, all the tensions will be equal to the weight of the pulley and is given by
${T_1} = {T_2} = {T_3} = \dfrac{{Mg}}{2}$
Therefore the first equation will become
${T_4} = \dfrac{{Mg}}{2} + \dfrac{{Mg}}{2} + \dfrac{{Mg}}{2}$
$ \Rightarrow \,{T_4} = \dfrac{{3Mg}}{2}$
Therefore, the tension in each rope is ${T_1} = \dfrac{{Mg}}{2}$ , ${T_2} = \dfrac{{Mg}}{2}$ , ${T_3} = \dfrac{{Mg}}{2}$ and ${T_4} = \dfrac{{3Mg}}{2}$
(c) Now, from the option (a) we can say that the magnitude of force is given by
$F = {T_1}$
$ \therefore F = \dfrac{{Mg}}{2}$
Therefore the magnitude is $\dfrac{{Mg}}{2}$ .
Note:Here, we have not talked about the tension ${T_5}$ as it is in the same direction as that of the tension ${T_4}$. Also, it will be equal to the mass of the body that is hanged, that is, ${T_5} = Mg$ . Also, the above system is frictionless and is not rotating.
Recently Updated Pages
Why are manures considered better than fertilizers class 11 biology CBSE

Find the coordinates of the midpoint of the line segment class 11 maths CBSE

Distinguish between static friction limiting friction class 11 physics CBSE

The Chairman of the constituent Assembly was A Jawaharlal class 11 social science CBSE

The first National Commission on Labour NCL submitted class 11 social science CBSE

Number of all subshell of n + l 7 is A 4 B 5 C 6 D class 11 chemistry CBSE

Trending doubts
What is meant by exothermic and endothermic reactions class 11 chemistry CBSE

10 examples of friction in our daily life

One Metric ton is equal to kg A 10000 B 1000 C 100 class 11 physics CBSE

1 Quintal is equal to a 110 kg b 10 kg c 100kg d 1000 class 11 physics CBSE

Difference Between Prokaryotic Cells and Eukaryotic Cells

What are Quantum numbers Explain the quantum number class 11 chemistry CBSE

