
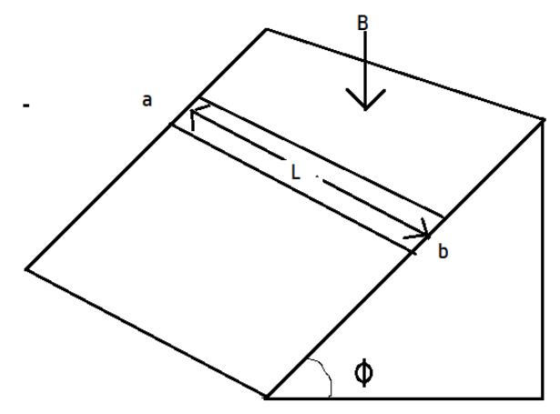
At what rate is electrical energy converted into thermal energy in the resistance of the bar after the terminal velocity has been reached?
(A) \[\dfrac{{{B}^{2}}{{l}^{2}}v{{\cos }^{2}}\phi }{2R}\]
(B) \[\dfrac{{{B}^{2}}{{l}^{2}}v{{\cos }^{2}}\phi }{R}\]
(C) \[\dfrac{{{B}^{2}}{{l}^{2}}v{{\sin }^{2}}\phi }{R}\]
(D) \[\dfrac{{{B}^{2}}{{l}^{2}}v{{\sin }^{2}}\phi }{2R}\]
Answer
583.2k+ views
Hint:Here metal rod of length l, is in motion in the area where there is a magnetic field present. We know from Maxwell equations that a changing magnetic field can induce current whose direction is given by Lenz law. Also, if the magnetic flux remains constant then there will be no induced emf.
Complete step by step answer:
From the concept of motional emf, the emf induced in a conductor which is moving in the region where the magnetic field is present. So, let us find the magnetic flux,
\[\Rightarrow {{\phi }_{B}}=\overrightarrow{B.}\overrightarrow{A}=BA\cos \varphi \]
The area which the conductor covers can be written as the product of velocity and length, so, the equation becomes
\[\Rightarrow e=Blv\cos \phi \]
But we are interested in finding out the rate at which the electrical energy converted into thermal energy in the resistance of the bar after the terminal velocity has been reached.
So, we need to find the rate of generation of thermal energy.
Using the formula,
\[\Rightarrow P=\dfrac{{{V}^{2}}}{R}\] where V is the emf generated and R is the resistance of the conductor.
\[\therefore P=\dfrac{{{B}^{2}}{{l}^{2}}{{v}^{2}}{{\cos }^{2}}\phi }{R}\]
So, the correct option is (B).
Note: If there was no change in the magnetic flux then there would have been no emf induced in the conductor. Since flux is the dot product of magnetic field and area vector, to change the flux there can be three conditions:
- Change in a magnetic field.
-Change in the area of the conductor.
-Change in the angle between the magnetic field and the area vector.
Complete step by step answer:
From the concept of motional emf, the emf induced in a conductor which is moving in the region where the magnetic field is present. So, let us find the magnetic flux,
\[\Rightarrow {{\phi }_{B}}=\overrightarrow{B.}\overrightarrow{A}=BA\cos \varphi \]
The area which the conductor covers can be written as the product of velocity and length, so, the equation becomes
\[\Rightarrow e=Blv\cos \phi \]
But we are interested in finding out the rate at which the electrical energy converted into thermal energy in the resistance of the bar after the terminal velocity has been reached.
So, we need to find the rate of generation of thermal energy.
Using the formula,
\[\Rightarrow P=\dfrac{{{V}^{2}}}{R}\] where V is the emf generated and R is the resistance of the conductor.
\[\therefore P=\dfrac{{{B}^{2}}{{l}^{2}}{{v}^{2}}{{\cos }^{2}}\phi }{R}\]
So, the correct option is (B).
Note: If there was no change in the magnetic flux then there would have been no emf induced in the conductor. Since flux is the dot product of magnetic field and area vector, to change the flux there can be three conditions:
- Change in a magnetic field.
-Change in the area of the conductor.
-Change in the angle between the magnetic field and the area vector.
Recently Updated Pages
Master Class 12 Economics: Engaging Questions & Answers for Success

Master Class 12 Physics: Engaging Questions & Answers for Success

Master Class 12 English: Engaging Questions & Answers for Success

Master Class 12 Social Science: Engaging Questions & Answers for Success

Master Class 12 Maths: Engaging Questions & Answers for Success

Master Class 12 Business Studies: Engaging Questions & Answers for Success

Trending doubts
Why cannot DNA pass through cell membranes class 12 biology CBSE

Draw a neat and well labeled diagram of TS of ovary class 12 biology CBSE

In a human foetus the limbs and digits develop after class 12 biology CBSE

AABbCc genotype forms how many types of gametes a 4 class 12 biology CBSE

Differentiate between homogeneous and heterogeneous class 12 chemistry CBSE

The correct structure of ethylenediaminetetraacetic class 12 chemistry CBSE

