
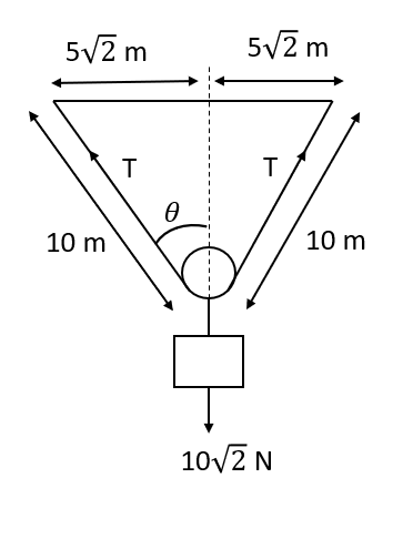
A light and inextensible string of length $L = 20 m$ tired between two nails, supports a frictionless pulley of weight $W_{p} = 10 \sqrt{2} N$ from which a block of weight $W_{b} = 10 \sqrt{2} N$ is also suspended as shown in the figure. The nails are fixed in a level a distance $x = 10 \sqrt{2} m$ apart. Radius of the pulley is $r = 10 cm$. How much normal reaction per unit of its length does the string apply on the pulley.
Answer
508.8k+ views
Hint: A force is acting normally on two surfaces in touch with each other. It is an estimation of the force keeping the two surfaces together. The higher the normal reaction force, the higher the value of limiting resistance. If weight is the only upward force acting on an object moving on a uniform surface, the normal reaction force is equivalent in magnitude but opposite in direction to the weight. Friction, therefore, is enhanced by increasing the weight.
Complete step-by-step solution:
Given: Radius of pulley $ = 10 cm = 0.1 m$
dl: length of arc
$d \theta = \dfrac{dl}{r}$
$dl = 0.1 d \theta$
Now, we will balance the forces vertically.
$2T sin \dfrac{d \theta}{2} = N dl$
For small angle, it will become,
$2T \dfrac{d \theta}{2} = N dl$
$ T d \theta = N dl$
It will give,
$N = 10T$ ……(1)
Now we will find sine of angle in the above,
$ sin \theta = \dfrac{5 \sqrt{2}}{10}$
$\implies sin \theta = \dfrac{1}{\sqrt{2}}$
It will give,
$\theta = 45^{\circ}$
Now, we will find the value of T:
$2T cos 45^{\circ} = W_{p} + W_{b}$
$\implies 2T \times \dfrac{1}{\sqrt{2}} = 20 \sqrt{2}$
$\implies T = 20 N$
Now we have to find the normal reaction by equation (1).
$ N = 10 \times 20 = 200 N$
Thus, the normal reaction per unit of its length on the pulley is $200 N$.
Note: The force holding a load is upright to the surface of touch between the load and its provider, and this force is termed a normal force, often shown with the symbol N. The word normal indicates normal to a surface. The normal force is not forever equal to the object's weight if other forces act on the object or if the object is quickening so that the whole force is not zero.
Complete step-by-step solution:
Given: Radius of pulley $ = 10 cm = 0.1 m$
dl: length of arc
$d \theta = \dfrac{dl}{r}$
$dl = 0.1 d \theta$
Now, we will balance the forces vertically.
$2T sin \dfrac{d \theta}{2} = N dl$
For small angle, it will become,
$2T \dfrac{d \theta}{2} = N dl$
$ T d \theta = N dl$
It will give,
$N = 10T$ ……(1)
Now we will find sine of angle in the above,
$ sin \theta = \dfrac{5 \sqrt{2}}{10}$
$\implies sin \theta = \dfrac{1}{\sqrt{2}}$
It will give,
$\theta = 45^{\circ}$
Now, we will find the value of T:
$2T cos 45^{\circ} = W_{p} + W_{b}$
$\implies 2T \times \dfrac{1}{\sqrt{2}} = 20 \sqrt{2}$
$\implies T = 20 N$
Now we have to find the normal reaction by equation (1).
$ N = 10 \times 20 = 200 N$
Thus, the normal reaction per unit of its length on the pulley is $200 N$.
Note: The force holding a load is upright to the surface of touch between the load and its provider, and this force is termed a normal force, often shown with the symbol N. The word normal indicates normal to a surface. The normal force is not forever equal to the object's weight if other forces act on the object or if the object is quickening so that the whole force is not zero.
Recently Updated Pages
Which cell organelles are present in white blood C class 11 biology CBSE

What is the molecular geometry of BrF4 A square planar class 11 chemistry CBSE

How can you explain that CCl4 has no dipole moment class 11 chemistry CBSE

Which will undergo SN2 reaction fastest among the following class 11 chemistry CBSE

The values of mass m for which the 100 kg block does class 11 physics CBSE

Why are voluntary muscles called striated muscles class 11 biology CBSE

Trending doubts
Show that total energy of a freely falling body remains class 11 physics CBSE

What is the difference between biodegradable and nonbiodegradable class 11 biology CBSE

Name the metals and nonmetals in the first twenty class 11 chemistry CBSE

Bond order ofO2 O2+ O2 and O22 is in order A O2 langle class 11 chemistry CBSE

How many quintals are there in one metric ton A 10 class 11 physics CBSE

Earth rotates in which direction A East to west B West class 11 physics CBSE

