
The outer dimensions of a closed wooden box are 10 cm by 8 cm by 7 cm. The thickness of the wood is 1 cm. Find the total cost of wood to make box, if 1 cubic cm of wood costs Rs.2.00.
Answer
603.9k+ views
Hint: Calculate the inner dimensions of the box by subtracting the twice of the thickness from outer dimensions. Next find the volume of the box using both these dimensions and subtract these to get the volume of wood used. Multiply this by the cost of wood of 1 cubic cm to get the final answer.
Complete step-by-step answer:
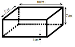
In this question, we are given that the outer dimensions of a closed wooden box are 10 cm by 8 cm by 7 cm. The thickness of the wood is 1 cm. We can represent it diagrammatically as shown below.
We need to find the total cost of wood to make a box, if 1 cubic cm of wood costs Rs.2.00.
The outer dimensions of closed box is 10cm by 8cm by 7cm
Width of the wooden box is 1cm.
To calculate the inner dimensions, we will subtract 2 cm from the outer dimensions as the thickness (1 cm) will be reduced from two sides for each dimension.
So, the inner dimensions are given by 8cm by 6cm by 5cm.
The volume of wood in the wooden box is given by the following: Volume of box with outer dimensions-Volume of box with inner dimensions
Now, we know that the volume of a cuboid is equal to the product of its length, breadth and height.
Using these formulae, we will get the following:
The volume of wood used = $ 10\times 8\times 7-8\times 6\times 5=560-240=320 $ cubic cm.
Now, we will multiply the cost of 1 cubic cm wood to this volume to find the total cost.
Total cost = $ 2\times 320=640 $
So, the total cost of wood to make box is Rs. 640
This is our final answer.
Note: In this question, it is very important to note that while calculating the inner box dimensions, we will subtract double of the thickness from the outer dimensions as the thickness (1 cm) will be reduced from two sides for each dimension and not just one. Some students just directly subtract the thickness from the outer dimensions which will give the wrong answer.
Complete step-by-step answer:
In this question, we are given that the outer dimensions of a closed wooden box are 10 cm by 8 cm by 7 cm. The thickness of the wood is 1 cm. We can represent it diagrammatically as shown below.
We need to find the total cost of wood to make a box, if 1 cubic cm of wood costs Rs.2.00.
The outer dimensions of closed box is 10cm by 8cm by 7cm
Width of the wooden box is 1cm.
To calculate the inner dimensions, we will subtract 2 cm from the outer dimensions as the thickness (1 cm) will be reduced from two sides for each dimension.
So, the inner dimensions are given by 8cm by 6cm by 5cm.
The volume of wood in the wooden box is given by the following: Volume of box with outer dimensions-Volume of box with inner dimensions
Now, we know that the volume of a cuboid is equal to the product of its length, breadth and height.
Using these formulae, we will get the following:
The volume of wood used = $ 10\times 8\times 7-8\times 6\times 5=560-240=320 $ cubic cm.
Now, we will multiply the cost of 1 cubic cm wood to this volume to find the total cost.
Total cost = $ 2\times 320=640 $
So, the total cost of wood to make box is Rs. 640
This is our final answer.
Note: In this question, it is very important to note that while calculating the inner box dimensions, we will subtract double of the thickness from the outer dimensions as the thickness (1 cm) will be reduced from two sides for each dimension and not just one. Some students just directly subtract the thickness from the outer dimensions which will give the wrong answer.
Recently Updated Pages
Basicity of sulphurous acid and sulphuric acid are

Master Class 11 Business Studies: Engaging Questions & Answers for Success

Master Class 11 Computer Science: Engaging Questions & Answers for Success

Master Class 11 Economics: Engaging Questions & Answers for Success

Master Class 12 English: Engaging Questions & Answers for Success

Master Class 12 Social Science: Engaging Questions & Answers for Success

Trending doubts
Fill the blanks with the suitable prepositions 1 The class 9 english CBSE

Difference Between Plant Cell and Animal Cell

What is the color of ferrous sulphate crystals? How does this color change after heating? Name the products formed on strongly heating ferrous sulphate crystals. What type of chemical reaction occurs in this type of change.

What is the Full Form of ICSE / ISC ?

What is pollution? How many types of pollution? Define it

Explain the importance of pH in everyday life class 9 chemistry CBSE

