
Draw a labelled diagram of a candle flame and explain what happens in each zone.
Answer
516.4k+ views
Hint:We use candles very frequently for light and heat.A candle is primarily made by solidifying wax and putting a wick in it, which is used to lighting up the candle. Candle uses wax as a form of fuel. Combustion takes place as a result of which heat and light is produced.
Complete step by step answer:
Let us attempt this question by first drawing out the basic structure of the candle along with its flame.
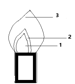
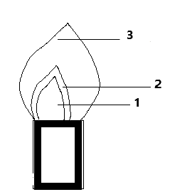
A candle flame can be divided into three zones (as seen in the diagram – zone 1, 2 and 3).
Additional Information:Zone 1 is always formed near the wick of the candle.
Note:The light produced by the flame is majorly due to the middle zone, which is yellowish in colour. The same zone is also responsible for the creation of smoke.Whereas, the outermost zone is mainly responsible for producing heat.
Complete step by step answer:
Let us attempt this question by first drawing out the basic structure of the candle along with its flame.
A candle flame can be divided into three zones (as seen in the diagram – zone 1, 2 and 3).
Zone 1 – It is the innermost zone of a flame. This appears are very dark blue or black in colour. This part consists of hot, unburnt vapors of the combustible fuel. This is least hot / coldest part of the flame.
Zone 2 – It is the middle zone of the flame. This part of flame appears yellow in colour. It is very bright and luminous. In this zone, the fuel vapors burn partially due to the limited access to air. This partial burning leads to the production of carbon particles, which appears as smoke and soot. It has a moderate temperature (between zone 1 and zone 3).
Zone 3 – It is the outermost zone of a flame. This part of flame appears blue in colour. In this zone, complete combustion takes place due to complete access of air around it. This is the hottest part of the flame and therefore, has the highest temperature. This is the thinnest zone.
Additional Information:Zone 1 is always formed near the wick of the candle.
Note:The light produced by the flame is majorly due to the middle zone, which is yellowish in colour. The same zone is also responsible for the creation of smoke.Whereas, the outermost zone is mainly responsible for producing heat.
Recently Updated Pages
The number of solutions in x in 02pi for which sqrt class 12 maths CBSE

Write any two methods of preparation of phenol Give class 12 chemistry CBSE

Differentiate between action potential and resting class 12 biology CBSE

Two plane mirrors arranged at right angles to each class 12 physics CBSE

Which of the following molecules is are chiral A I class 12 chemistry CBSE

Name different types of neurons and give one function class 12 biology CBSE

Trending doubts
Fill the blanks with the suitable prepositions 1 The class 9 english CBSE

Who among the following opened first school for girls class 9 social science CBSE

What does the word meridian mean A New day B Midday class 9 social science CBSE

What is the full form of pH?

Write the 6 fundamental rights of India and explain in detail

Which places in India experience sunrise first and class 9 social science CBSE

