
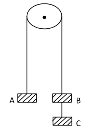
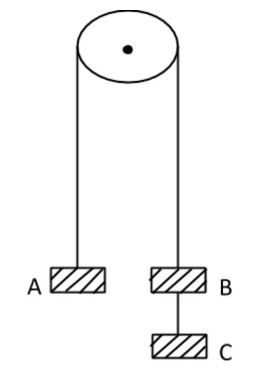
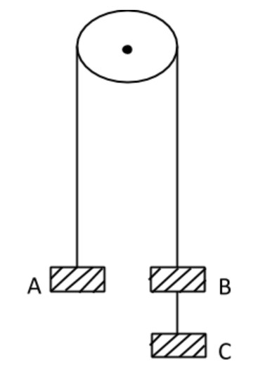
These equal weights of mass 2kg each are hanging on a string passing over a fixed pulley as shown in the figure. What is the tension in the string connecting the weight B and C.
(A) zero
(B) 13.33N
(C) 3.3N
(D) 19.6N
Answer
575.4k+ views
Hint: Tension is a face that always is directed away from the pulley. Hence the masses will be moving. The blocks B and C will move down, and block A will move up.
Complete step by step solution:
Given that \[{m_A} = {m_B} = {m_c} = 2kg\]
All the three blocks will move with the same acceleration in this case of not, they will collide with each other.
Therefore \[{a_A} = {a_B} = {a_c} = a\]
To determine the value of tension, it is essential to first determine the value of acceleration of the blocks.
Since there are many forces that are acting on each block in different directions, let us first assign sign convention, let us consider all the downward acting forces to be as positive, and all the upward acting forces to be as negative.
Since all three blocks have the same mass and acceleration, the net force on all three blocks will be same.
Blocks A and B are directly connected to the same string. Hence \[{T_A} = {T_B} = T\]
Writing the net force equation for each block we get
\[
{F_A} = - {m_A}a = {m_A}g - T \\
\Rightarrow T = {m_A}\left( {g + a} \right) = 2\left( {g + a} \right)..............\left( 1 \right) \\
{F_B} = {m_B}a = {m_B}g - T + {T_C} \\
\Rightarrow T = {m_B}\left( {g - a} \right) + {T_C} = 2\left( {g - a} \right) + {T_C}...............\left( 2 \right) \\
{F_C} = {m_C}a = {m_C}g - {T_C} \\
\Rightarrow {T_C} = {m_C}\left( {g - a} \right) = 2\left( {g - a} \right)...........\left( 3 \right) \\
\]
Equating equation (1) and (2) we get
\[
2\left( {g + a} \right) = 2\left( {g - a} \right) + {T_C} \\
2g + 2a = 2g - 2a + {T_C} \\
{T_C} = 4a \\
\]
Substituting TC in equation (3) we get
\[
4a = 2\left( {g - a} \right) \\
\Rightarrow 4a = 2g - 2a \\
\Rightarrow 6a = 2g \\
\Rightarrow a = \dfrac{9}{3} \\
\]
Hence, \[{T_C} = 4\left( {\dfrac{9}{3}} \right) = 4\left( {\dfrac{{10}}{3}} \right) = 13.3N\]
Therefore the correct option is (B).
Note: Sign convention can also be taken the other way sound as mentioned in the solution. Perspective of which method of sign convention is used, we get the same answer.
Complete step by step solution:
Given that \[{m_A} = {m_B} = {m_c} = 2kg\]
All the three blocks will move with the same acceleration in this case of not, they will collide with each other.
Therefore \[{a_A} = {a_B} = {a_c} = a\]
To determine the value of tension, it is essential to first determine the value of acceleration of the blocks.
Since there are many forces that are acting on each block in different directions, let us first assign sign convention, let us consider all the downward acting forces to be as positive, and all the upward acting forces to be as negative.
Since all three blocks have the same mass and acceleration, the net force on all three blocks will be same.
Blocks A and B are directly connected to the same string. Hence \[{T_A} = {T_B} = T\]
Writing the net force equation for each block we get
\[
{F_A} = - {m_A}a = {m_A}g - T \\
\Rightarrow T = {m_A}\left( {g + a} \right) = 2\left( {g + a} \right)..............\left( 1 \right) \\
{F_B} = {m_B}a = {m_B}g - T + {T_C} \\
\Rightarrow T = {m_B}\left( {g - a} \right) + {T_C} = 2\left( {g - a} \right) + {T_C}...............\left( 2 \right) \\
{F_C} = {m_C}a = {m_C}g - {T_C} \\
\Rightarrow {T_C} = {m_C}\left( {g - a} \right) = 2\left( {g - a} \right)...........\left( 3 \right) \\
\]
Equating equation (1) and (2) we get
\[
2\left( {g + a} \right) = 2\left( {g - a} \right) + {T_C} \\
2g + 2a = 2g - 2a + {T_C} \\
{T_C} = 4a \\
\]
Substituting TC in equation (3) we get
\[
4a = 2\left( {g - a} \right) \\
\Rightarrow 4a = 2g - 2a \\
\Rightarrow 6a = 2g \\
\Rightarrow a = \dfrac{9}{3} \\
\]
Hence, \[{T_C} = 4\left( {\dfrac{9}{3}} \right) = 4\left( {\dfrac{{10}}{3}} \right) = 13.3N\]
Therefore the correct option is (B).
Note: Sign convention can also be taken the other way sound as mentioned in the solution. Perspective of which method of sign convention is used, we get the same answer.
Recently Updated Pages
Why are manures considered better than fertilizers class 11 biology CBSE

Find the coordinates of the midpoint of the line segment class 11 maths CBSE

Distinguish between static friction limiting friction class 11 physics CBSE

The Chairman of the constituent Assembly was A Jawaharlal class 11 social science CBSE

The first National Commission on Labour NCL submitted class 11 social science CBSE

Number of all subshell of n + l 7 is A 4 B 5 C 6 D class 11 chemistry CBSE

Trending doubts
What is meant by exothermic and endothermic reactions class 11 chemistry CBSE

10 examples of friction in our daily life

One Metric ton is equal to kg A 10000 B 1000 C 100 class 11 physics CBSE

1 Quintal is equal to a 110 kg b 10 kg c 100kg d 1000 class 11 physics CBSE

Difference Between Prokaryotic Cells and Eukaryotic Cells

What are Quantum numbers Explain the quantum number class 11 chemistry CBSE

