
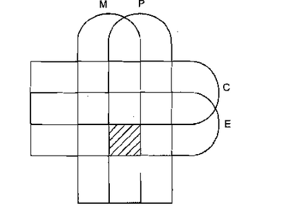
The given venn diagram represents four sets of students who have opted for Mathematics (M), physics (P), Chemistry (C) and Electronics (E).
What does the shaded region represent?
A.Students who opted for physics, chemistry and electronics
B.Students who opted for mathematics, physics and chemistry
C.Students who opted for mathematics, physics and electronics
D.Students who opted for mathematics chemistry and electronics
Answer
528.9k+ views
Hint: In the given question, we have been asked to find the representation of the shaded region. We have given a venn diagram representing four sets of students who have opted for Mathematics (M), Physics (P), Chemistry (C) and Electronics (E).
For solving first we will observe the horizontal venn diagram and find the subject which falls under the shaded region and then we will observe the vertical venn diagram and find the subject which falls under the shaded region. Then combining both we will get the representation of the shaded region.
Complete step-by-step answer:
Complete step by step solution:
We have given the venn diagram as shown in the question.
It is given that the given venn diagram represents four sets of students who have opted for Mathematics (M), physics (P), Chemistry (C) and Electronics (E).
Now,
We can observe that,
From the horizontal venn diagram, the shaded region falls under “Only Electronics”.
And,
From the vertical venn diagram, the shaded region falls under ‘Both Mathematics and Physics”.
Combining the two, we will get
Shaded region belongs to the students who have opted for Electronics, Mathematics and Physics.
Therefore,
We can conclude that the shaded region represents the students who opted for mathematics, physics and electronics.
Hence, the option (c ) is the correct answer.
So, the correct answer is “Option C”.
Note: In solving these types of questions, students should be familiar with the making of venn diagrams and the concepts of venn diagrams, complements, union and the intersections. One should shade the region to be selected with some different colors for a better understanding. We should be very careful while observing the shaded region as one shaded region may represent a set of many things.
For solving first we will observe the horizontal venn diagram and find the subject which falls under the shaded region and then we will observe the vertical venn diagram and find the subject which falls under the shaded region. Then combining both we will get the representation of the shaded region.
Complete step-by-step answer:
Complete step by step solution:
We have given the venn diagram as shown in the question.
It is given that the given venn diagram represents four sets of students who have opted for Mathematics (M), physics (P), Chemistry (C) and Electronics (E).
Now,
We can observe that,
From the horizontal venn diagram, the shaded region falls under “Only Electronics”.
And,
From the vertical venn diagram, the shaded region falls under ‘Both Mathematics and Physics”.
Combining the two, we will get
Shaded region belongs to the students who have opted for Electronics, Mathematics and Physics.
Therefore,
We can conclude that the shaded region represents the students who opted for mathematics, physics and electronics.
Hence, the option (c ) is the correct answer.
So, the correct answer is “Option C”.
Note: In solving these types of questions, students should be familiar with the making of venn diagrams and the concepts of venn diagrams, complements, union and the intersections. One should shade the region to be selected with some different colors for a better understanding. We should be very careful while observing the shaded region as one shaded region may represent a set of many things.
Recently Updated Pages
Master Class 9 Social Science: Engaging Questions & Answers for Success

Master Class 9 Science: Engaging Questions & Answers for Success

Master Class 9 English: Engaging Questions & Answers for Success

Master Class 9 Maths: Engaging Questions & Answers for Success

Master Class 11 Economics: Engaging Questions & Answers for Success

Master Class 11 English: Engaging Questions & Answers for Success

Trending doubts
Which places in India experience sunrise first and class 9 social science CBSE

Fill the blanks with the suitable prepositions 1 The class 9 english CBSE

Write the 6 fundamental rights of India and explain in detail

Difference Between Plant Cell and Animal Cell

What is the Full Form of ISI and RAW

Golden Revolution is related to AFood production BOil class 9 social science CBSE

