
In the system shown in figure, the pulley is frictionless and the string massless. If ${m_1} = {m_2}$, thrust on the pulley will be:
(A) $T > \left( {{m_1} + {m_2}} \right)g$
(B) $T < \left( {{m_1} + {m_2}} \right)g$
(C) $T = \left( {{m_1} + {m_2}} \right)g$
(D) none of the above
Answer
562.5k+ views
Hint:To give the answer of this problem we must know the concept of frictionless and massless pulley. After that, we will draw the free body diagram and write the balanced forces acting on the pulley.
Complete step by step answer:
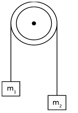
In the pulley a cable is attached to the wheel and axle, and it is generally used to lift and transport the objects. The pulley is a system that is used to change the direction and magnitude of force acting on the pulley during work is known as pulley. The tension transmitted by the string or rope in the pulley is depending upon the presence of the friction. Therefore, we often use the massless and frictionless pulley approximation.
If the pulley is not massless then there is a moment of inertia acting on the pulley which will be the function of mass.For this case the net torque in the pulley will be ${\tau _{{\rm{net}}}} = I\alpha $, where $I$ is moment of inertia, and $\alpha $ is the angular acceleration of the pulley.If the pulley is massless, then its moment of inertia will be zero.
Therefore, for the pulley the net torque will be ${\tau _{{\rm{net}}}} = 0$.
If there is a friction in the pulley which can be generated due to contact with the axle or with the string, then the net torque will be ${\tau _{{\rm{net}}}} = fR$, where $f$ is friction force, and $R$ is the radius of the pulley. If the pulley is frictionless then $f = 0$, so net torque will be ${\tau _{{\rm{net}}}} = 0$. Consider the given diagram.
As the pulley is frictionless and massless then
$
{\rm{Total}}\;{\rm{thurst}} > {m_1}g + {m_2}g\\
\left( {T + T} \right) > {m_1}g + {m_2}g\\
2T > \left( {{m_1} + {m_2}} \right)g
$
As it is known that ${m_1} = {m_2}$ so,
$
2T > \left( {{m_1} + {m_1}} \right)g\\
\Rightarrow 2T > 2{m_1}g
$
Or
$
2T > \left( {{m_2} + {m_2}} \right)g\\
\Rightarrow 2T > 2{m_2}g
$
Therefore, the option (A) is the correct answer.
Note:The key concept of this problem is that the pulley is frictionless and massless, so there is no moment of inertia, and friction force will act on the pulley, due to which the net torque will also be zero. So, we simply balance the forces and get the required answer.
Complete step by step answer:
In the pulley a cable is attached to the wheel and axle, and it is generally used to lift and transport the objects. The pulley is a system that is used to change the direction and magnitude of force acting on the pulley during work is known as pulley. The tension transmitted by the string or rope in the pulley is depending upon the presence of the friction. Therefore, we often use the massless and frictionless pulley approximation.
If the pulley is not massless then there is a moment of inertia acting on the pulley which will be the function of mass.For this case the net torque in the pulley will be ${\tau _{{\rm{net}}}} = I\alpha $, where $I$ is moment of inertia, and $\alpha $ is the angular acceleration of the pulley.If the pulley is massless, then its moment of inertia will be zero.
Therefore, for the pulley the net torque will be ${\tau _{{\rm{net}}}} = 0$.
If there is a friction in the pulley which can be generated due to contact with the axle or with the string, then the net torque will be ${\tau _{{\rm{net}}}} = fR$, where $f$ is friction force, and $R$ is the radius of the pulley. If the pulley is frictionless then $f = 0$, so net torque will be ${\tau _{{\rm{net}}}} = 0$. Consider the given diagram.
As the pulley is frictionless and massless then
$
{\rm{Total}}\;{\rm{thurst}} > {m_1}g + {m_2}g\\
\left( {T + T} \right) > {m_1}g + {m_2}g\\
2T > \left( {{m_1} + {m_2}} \right)g
$
As it is known that ${m_1} = {m_2}$ so,
$
2T > \left( {{m_1} + {m_1}} \right)g\\
\Rightarrow 2T > 2{m_1}g
$
Or
$
2T > \left( {{m_2} + {m_2}} \right)g\\
\Rightarrow 2T > 2{m_2}g
$
Therefore, the option (A) is the correct answer.
Note:The key concept of this problem is that the pulley is frictionless and massless, so there is no moment of inertia, and friction force will act on the pulley, due to which the net torque will also be zero. So, we simply balance the forces and get the required answer.
Recently Updated Pages
Why are manures considered better than fertilizers class 11 biology CBSE

Find the coordinates of the midpoint of the line segment class 11 maths CBSE

Distinguish between static friction limiting friction class 11 physics CBSE

The Chairman of the constituent Assembly was A Jawaharlal class 11 social science CBSE

The first National Commission on Labour NCL submitted class 11 social science CBSE

Number of all subshell of n + l 7 is A 4 B 5 C 6 D class 11 chemistry CBSE

Trending doubts
Differentiate between an exothermic and an endothermic class 11 chemistry CBSE

10 examples of friction in our daily life

One Metric ton is equal to kg A 10000 B 1000 C 100 class 11 physics CBSE

Difference Between Prokaryotic Cells and Eukaryotic Cells

1 Quintal is equal to a 110 kg b 10 kg c 100kg d 1000 class 11 physics CBSE

State the laws of reflection of light

