
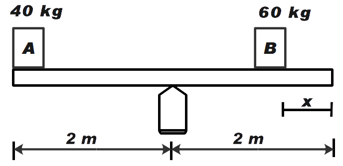
In the game of see-saw, what should be the displacement of the boy B from the right edge to keep see-saw in equilibrium? (\[{{M}_{1}}=40kg\],\[{{M}_{2}}=60kg\])
A. \[\dfrac{4}{3}\]m
B. 1 m
C. \[\dfrac{2}{3}\]m
D. zero
Answer
574.2k+ views
Hint: In this question, we have been asked to calculate the distance of boy B from the right edge. We know that see-saw works on the principle of lever and fulcrum. The lever moves the object with fulcrum because of the torque applied on the end of fulcrum. So to maintain the see-saw in equilibrium we need to balance the torque.
Formula used: \[\sum{{{T}_{o}}=0}\]
Where,
\[{{T}_{o}}\] is the torque at point O.
Complete step by step answer:
From the figure given, we can say that torque at point O should be zero. This is a necessary condition for the see-saw to be in equilibrium. In terms of equation we can write it as
\[\sum{{{T}_{o}}=0}\]
We know that Torque is the product of magnitude of force and perpendicular distance of the line of action of force.
Let us consider that, boy B is sitting at distance x from the right edge. Therefore, the distance of boy B from centre point O will be (2-x). Now, considering the positive X-axis as positive direction for distance and point O as the origin
We can say
\[40\times (2)=60(2-x)\]
On solving
We get,
\[6-3x=4\]
Therefore,
\[x=\dfrac{2}{3}\]
So, in order to maintain the equilibrium for the see-saw boy B must sit distance \[\dfrac{2}{3}\]m from the right edge.
So, the correct answer is “Option C”.
Note: The force that causes the object to rotate about an axis is called the Torque. Torque causes the object to gain angular acceleration. The SI unit of torque is Newton metre (Nm). Torque in rotational motion is basically the same as force in linear motion. It depends on the amount of force applied and the perpendicular distance from the axis of rotation to point of force applied.
Formula used: \[\sum{{{T}_{o}}=0}\]
Where,
\[{{T}_{o}}\] is the torque at point O.
Complete step by step answer:
From the figure given, we can say that torque at point O should be zero. This is a necessary condition for the see-saw to be in equilibrium. In terms of equation we can write it as
\[\sum{{{T}_{o}}=0}\]
We know that Torque is the product of magnitude of force and perpendicular distance of the line of action of force.
Let us consider that, boy B is sitting at distance x from the right edge. Therefore, the distance of boy B from centre point O will be (2-x). Now, considering the positive X-axis as positive direction for distance and point O as the origin
We can say
\[40\times (2)=60(2-x)\]
On solving
We get,
\[6-3x=4\]
Therefore,
\[x=\dfrac{2}{3}\]
So, in order to maintain the equilibrium for the see-saw boy B must sit distance \[\dfrac{2}{3}\]m from the right edge.
So, the correct answer is “Option C”.
Note: The force that causes the object to rotate about an axis is called the Torque. Torque causes the object to gain angular acceleration. The SI unit of torque is Newton metre (Nm). Torque in rotational motion is basically the same as force in linear motion. It depends on the amount of force applied and the perpendicular distance from the axis of rotation to point of force applied.
Recently Updated Pages
Why are manures considered better than fertilizers class 11 biology CBSE

Find the coordinates of the midpoint of the line segment class 11 maths CBSE

Distinguish between static friction limiting friction class 11 physics CBSE

The Chairman of the constituent Assembly was A Jawaharlal class 11 social science CBSE

The first National Commission on Labour NCL submitted class 11 social science CBSE

Number of all subshell of n + l 7 is A 4 B 5 C 6 D class 11 chemistry CBSE

Trending doubts
Differentiate between an exothermic and an endothermic class 11 chemistry CBSE

10 examples of friction in our daily life

One Metric ton is equal to kg A 10000 B 1000 C 100 class 11 physics CBSE

Difference Between Prokaryotic Cells and Eukaryotic Cells

1 Quintal is equal to a 110 kg b 10 kg c 100kg d 1000 class 11 physics CBSE

State the laws of reflection of light

