
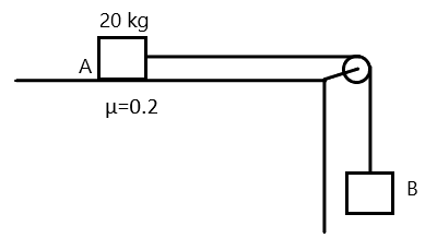
In the figure shown, the coefficient of static friction between the block A of mass 20 kg and horizontal table is $ 0.2 $ . What should be the minimum mass of the hanging block just beyond which blocks start to move?
Answer
554.7k+ views
Hint : The block A will tend to move when the tension in the string due to the hanging block just becomes equal to the maximum static frictional force that can act on it in the other direction. In equilibrium, the tension will equal the weight of the block B.
Formula used: In this solution we will be using the following formula;
$\Rightarrow W = mg $ where $ W $ is the weight of a body, $ m $ is the mass, and $ g $ is the acceleration due to gravity.
$\Rightarrow {F_{NET}} = ma $ where $ {F_{NET}} $ is the net force acting on a body, and $ a $ is a the acceleration of the body.
$\Rightarrow f = \mu N $ where $ f $ is the static frictional force between two surfaces, $ \mu $ is the coefficient of static friction, and $ N $ is the normal reaction on the body.
Complete step by step answer
To calculate the maximum mass beyond which the object starts to move, we must perform a Newton’s law analysis on both the blocks.
On block A, we have
$\Rightarrow {F_{NET}} = T - f = {m_A}a $ where $ T $ is the tension on the string, $ f $ is the frictional force between the surfaces.
Since the body is not moving, then the equation is
$\Rightarrow T - f = 0 $
$ \Rightarrow T = f $ , since the object isn’t moving, the frictional force is actually the static frictional force, which prevents the body moving. The maximum is given as
$\Rightarrow f = \mu N $ where $ \mu $ is the coefficient of static friction, and $ N $ is the normal reaction on the body.
The normal reaction is equal to weight of the body (vertical equilibrium)
$\Rightarrow f = \mu {m_A}g $
Hence,
$\Rightarrow T = \mu {m_A}g $
The force on block B
$\Rightarrow {F_{NET}} = T - W = {m_B}a $
Since $ a = 0 $
$\Rightarrow T = W = {m_B}g $
Then by substituting into $ T = \mu {m_A}g $ we have
$\Rightarrow {m_B}g = \mu {m_A}g $
$\Rightarrow {m_B} = \mu {m_A} $ , hence by inserting known values
$\Rightarrow {m_B} = 0.2 \times 20 = 4kg $ .
Note
For clarity, we say that the maximum static frictional force is given as $ f = \mu N $ , because, in general, static friction can be considered not to act on a body until another force wants to move the body. The static friction then acts equally but opposite in direction as the force applied. If the force is increased, the frictional force increases until the force is increased to a point whereby no more frictional force can be provided. This maximum frictional force can be given as the expression written above.
Formula used: In this solution we will be using the following formula;
$\Rightarrow W = mg $ where $ W $ is the weight of a body, $ m $ is the mass, and $ g $ is the acceleration due to gravity.
$\Rightarrow {F_{NET}} = ma $ where $ {F_{NET}} $ is the net force acting on a body, and $ a $ is a the acceleration of the body.
$\Rightarrow f = \mu N $ where $ f $ is the static frictional force between two surfaces, $ \mu $ is the coefficient of static friction, and $ N $ is the normal reaction on the body.
Complete step by step answer
To calculate the maximum mass beyond which the object starts to move, we must perform a Newton’s law analysis on both the blocks.
On block A, we have
$\Rightarrow {F_{NET}} = T - f = {m_A}a $ where $ T $ is the tension on the string, $ f $ is the frictional force between the surfaces.
Since the body is not moving, then the equation is
$\Rightarrow T - f = 0 $
$ \Rightarrow T = f $ , since the object isn’t moving, the frictional force is actually the static frictional force, which prevents the body moving. The maximum is given as
$\Rightarrow f = \mu N $ where $ \mu $ is the coefficient of static friction, and $ N $ is the normal reaction on the body.
The normal reaction is equal to weight of the body (vertical equilibrium)
$\Rightarrow f = \mu {m_A}g $
Hence,
$\Rightarrow T = \mu {m_A}g $
The force on block B
$\Rightarrow {F_{NET}} = T - W = {m_B}a $
Since $ a = 0 $
$\Rightarrow T = W = {m_B}g $
Then by substituting into $ T = \mu {m_A}g $ we have
$\Rightarrow {m_B}g = \mu {m_A}g $
$\Rightarrow {m_B} = \mu {m_A} $ , hence by inserting known values
$\Rightarrow {m_B} = 0.2 \times 20 = 4kg $ .
Note
For clarity, we say that the maximum static frictional force is given as $ f = \mu N $ , because, in general, static friction can be considered not to act on a body until another force wants to move the body. The static friction then acts equally but opposite in direction as the force applied. If the force is increased, the frictional force increases until the force is increased to a point whereby no more frictional force can be provided. This maximum frictional force can be given as the expression written above.
Recently Updated Pages
Why are manures considered better than fertilizers class 11 biology CBSE

Find the coordinates of the midpoint of the line segment class 11 maths CBSE

Distinguish between static friction limiting friction class 11 physics CBSE

The Chairman of the constituent Assembly was A Jawaharlal class 11 social science CBSE

The first National Commission on Labour NCL submitted class 11 social science CBSE

Number of all subshell of n + l 7 is A 4 B 5 C 6 D class 11 chemistry CBSE

Trending doubts
What is meant by exothermic and endothermic reactions class 11 chemistry CBSE

10 examples of friction in our daily life

One Metric ton is equal to kg A 10000 B 1000 C 100 class 11 physics CBSE

1 Quintal is equal to a 110 kg b 10 kg c 100kg d 1000 class 11 physics CBSE

Difference Between Prokaryotic Cells and Eukaryotic Cells

What are Quantum numbers Explain the quantum number class 11 chemistry CBSE

