
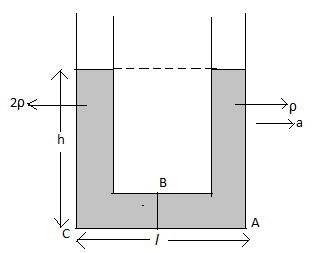
A U-tube of base length ‘\[l\]’ is filled with the same volume of two liquids of densities \[\rho \] and \[2\rho \] is moving with an acceleration ‘\[a\]’ on the horizontal plane. If the height difference between the two surfaces (open to atmosphere) becomes zero then the height \[h\] is given by
A. \[\dfrac{a}{{2g}}l\]
B. \[\dfrac{{3a}}{{2g}}l\]
C. \[\dfrac{a}{g}l\]
D. \[\dfrac{{2a}}{{3g}}l\]
Answer
564k+ views
Hint: Use the formula of pressure-depth relation. This formula gives the relation between the atmospheric pressure, density of liquid, acceleration of liquid and depth.
Formula used:
The pressure \[P\] at a depth \[h\] is given by
\[P = {P_0} + \rho gh\] …… (1)
Here, \[{P_0}\] is the atmospheric pressure, \[\rho \] is the density and \[g\] is the acceleration due to gravity.
Complete step by step answer:
A U-tube of base length ‘\[l\]’ is filled with the same volume of two liquids of densities \[\rho \] and \[2\rho \] which are moving with an acceleration ‘\[a\]’ on the horizontal plane.
Redraw the diagram of the U-tube.
The liquid with the density \[2\rho \] must be moving slowly as compared to the liquid with the density \[\rho \].
The liquids have the acceleration \[a\] only in the horizontal plane and not in the vertical plane.
Using equation (1), determine the pressure \[{P_A}\] at point A considering the right column of the U-tube.
\[{P_A} = {P_0} + \rho gh\]
Using equation (1), determine the pressure \[{P_B}\] at point B from point A considering the right column of the U-tube.
\[{P_B} = {P_A} + \rho a\dfrac{l}{2}\]
Substitute \[{P_0} + \rho gh\] for \[{P_A}\] in the above equation.
\[{P_B} = {P_0} + \rho gh + \rho a\dfrac{l}{2}\]
Using equation (1), determine the pressure \[{P_C}\] at point C from point B considering the right column of the U-tube.
\[{P_C} = {P_B} + 2\rho a\dfrac{l}{2}\]
Substitute \[{P_0} + \rho gh + \rho a\dfrac{l}{2}\] for \[{P_B}\] in the above equation.
\[{P_C} = {P_0} + \rho gh + \rho a\dfrac{l}{2} + 2\rho a\dfrac{l}{2}\]
\[{P_C} = {P_0} + \rho gh + \dfrac{3}{2}\rho al\] …… (2)
Using equation (1), determine the pressure \[{P_C}\] at point C considering the left column of the U-tube.
\[{P_C} = {P_0} + 2\rho gh\] …… (3)
The height difference between the two surfaces of two liquids open to the atmosphere becomes zero. Hence, the pressure at point C from both right and left liquid columns are the same.
Equate equation (2) and (3).
\[{P_0} + \rho gh + \dfrac{3}{2}\rho al = {P_0} + 2\rho gh\]
\[ \Rightarrow \dfrac{3}{2}\rho al = \rho gh\]
Rearrange the above equation for height \[h\].
\[h = \dfrac{{\dfrac{3}{2}\rho al}}{{\rho g}}\]
\[ \Rightarrow h = \dfrac{{3a}}{{2g}}l\]
Therefore, the height \[h\] is \[\dfrac{{3a}}{{2g}}l\].
So, the correct answer is “Option B”.
Note:
The pressure-depth relation is not the same for the pressure at the height h.
The height difference between the two surfaces (open to atmosphere) becomes zero.
The average density of a substance or object is defined as its mass per unit volume.
Formula used:
The pressure \[P\] at a depth \[h\] is given by
\[P = {P_0} + \rho gh\] …… (1)
Here, \[{P_0}\] is the atmospheric pressure, \[\rho \] is the density and \[g\] is the acceleration due to gravity.
Complete step by step answer:
A U-tube of base length ‘\[l\]’ is filled with the same volume of two liquids of densities \[\rho \] and \[2\rho \] which are moving with an acceleration ‘\[a\]’ on the horizontal plane.
Redraw the diagram of the U-tube.
The liquid with the density \[2\rho \] must be moving slowly as compared to the liquid with the density \[\rho \].
The liquids have the acceleration \[a\] only in the horizontal plane and not in the vertical plane.
Using equation (1), determine the pressure \[{P_A}\] at point A considering the right column of the U-tube.
\[{P_A} = {P_0} + \rho gh\]
Using equation (1), determine the pressure \[{P_B}\] at point B from point A considering the right column of the U-tube.
\[{P_B} = {P_A} + \rho a\dfrac{l}{2}\]
Substitute \[{P_0} + \rho gh\] for \[{P_A}\] in the above equation.
\[{P_B} = {P_0} + \rho gh + \rho a\dfrac{l}{2}\]
Using equation (1), determine the pressure \[{P_C}\] at point C from point B considering the right column of the U-tube.
\[{P_C} = {P_B} + 2\rho a\dfrac{l}{2}\]
Substitute \[{P_0} + \rho gh + \rho a\dfrac{l}{2}\] for \[{P_B}\] in the above equation.
\[{P_C} = {P_0} + \rho gh + \rho a\dfrac{l}{2} + 2\rho a\dfrac{l}{2}\]
\[{P_C} = {P_0} + \rho gh + \dfrac{3}{2}\rho al\] …… (2)
Using equation (1), determine the pressure \[{P_C}\] at point C considering the left column of the U-tube.
\[{P_C} = {P_0} + 2\rho gh\] …… (3)
The height difference between the two surfaces of two liquids open to the atmosphere becomes zero. Hence, the pressure at point C from both right and left liquid columns are the same.
Equate equation (2) and (3).
\[{P_0} + \rho gh + \dfrac{3}{2}\rho al = {P_0} + 2\rho gh\]
\[ \Rightarrow \dfrac{3}{2}\rho al = \rho gh\]
Rearrange the above equation for height \[h\].
\[h = \dfrac{{\dfrac{3}{2}\rho al}}{{\rho g}}\]
\[ \Rightarrow h = \dfrac{{3a}}{{2g}}l\]
Therefore, the height \[h\] is \[\dfrac{{3a}}{{2g}}l\].
So, the correct answer is “Option B”.
Note:
The pressure-depth relation is not the same for the pressure at the height h.
The height difference between the two surfaces (open to atmosphere) becomes zero.
The average density of a substance or object is defined as its mass per unit volume.
Recently Updated Pages
Master Class 12 Business Studies: Engaging Questions & Answers for Success

Master Class 12 Economics: Engaging Questions & Answers for Success

Master Class 12 English: Engaging Questions & Answers for Success

Master Class 12 Maths: Engaging Questions & Answers for Success

Master Class 12 Social Science: Engaging Questions & Answers for Success

Master Class 12 Chemistry: Engaging Questions & Answers for Success

Trending doubts
What is meant by exothermic and endothermic reactions class 11 chemistry CBSE

Which animal has three hearts class 11 biology CBSE

10 examples of friction in our daily life

One Metric ton is equal to kg A 10000 B 1000 C 100 class 11 physics CBSE

1 Quintal is equal to a 110 kg b 10 kg c 100kg d 1000 class 11 physics CBSE

Difference Between Prokaryotic Cells and Eukaryotic Cells

