
A long uniform rod of length $ L $ , mass $ M $ is free to rotate in a horizontal plane about a vertical axis through its end. Two springs of constant $ K $ each are connected as shown. On equilibrium, the road was horizontal. The frequency of small oscillation of rod if displaced slightly will be:
(A) $ \dfrac{1}{{2\pi }}\sqrt {\dfrac{{15K}}{M}} $
(B) $ \dfrac{1}{{2\pi }}\sqrt {\dfrac{{15}}{{4M}}} $
(C) $ \dfrac{1}{{2\pi }}\sqrt {\dfrac{{3K}}{{4M}}} $
(D) $ \dfrac{1}{{2\pi }}\sqrt {\dfrac{{15K}}{{4M}}} $
Answer
468.3k+ views
Hint: If a spring is stretched or compressed, it is displaced from its original position. As a result, restoring force tends to retract the spring back to its equilibrium position. Restoring force of the spring is proportional to the displacement of the spring.
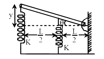
When the rod displaced slightly from its original position the connected spring stretched. Where restoring force of one spring $ F $ is proportional to its displacement $ y $
$ \therefore {F_1} \propto y $ or, $ {F_1} = Ky $ ( $ K $ is the spring constant)
And torque $ \tau $ is proportional to the angular displacement $ \theta $
$ \therefore \tau \propto \theta $
$ \Rightarrow \tau = K\theta $
$ K $ is the torsion constant that is torque per unit angular displacement. If the moment of inertia of the body is $ I $ and the angular acceleration is $ \alpha $
Then, $ \tau = - I\alpha $ .
Complete Step By Step Answer:
Let the uniform rod be displaced slightly at the angle of $ \theta $
Displacement of the spring be $ y $ and $ {y_1} $
As the image is given we can calculate the value of $ \theta $ is, $ \theta = \dfrac{y}{L} $
Also, $ \theta = \dfrac{{{y_1}}}{{\dfrac{L}{2}}} $
$ \therefore $ $ y = L\theta $ and $ {y_1} = \dfrac{{L\theta }}{2} $
Now let the force applied on the two rods are $ {F_1} $ and $ {F_2} $
Hence the spring constant is $ K $
$ {F_1} = Ky $ $ = KL\theta $
$ {F_2} = K{y_1} $ $ = \dfrac{{KL\theta }}{2} $
The restoring Torque due to the elastic force of the spring is:
$ \tau = ({F_1}\cos \theta \dfrac{L}{2} \times {F_2}\cos \theta L) $
$ \Rightarrow \tau = \left( {\dfrac{{{F_1}}}{2} + {F_2}} \right)\cos \theta $
Here $ \theta $ is very small, hence we can assume $ \cos \theta \simeq 1 $
$ \therefore \tau = (\dfrac{{KL\theta }}{4} + KL\theta )L $
$ = \left( {\dfrac{{K\theta }}{4} + K\theta } \right){L^2} $
$ = \left( {\dfrac{{5KL\theta }}{4}} \right){L^2} $
Now, Net Torque $ \tau = \left( {\dfrac{{5KL\theta }}{4}} \right){L^2} $ $ = - I\alpha $ ( $ \alpha = $ angular acceleration)
$ \Rightarrow \left( {\dfrac{{5KL\theta }}{4}} \right){L^2} = \left( {\dfrac{{M{L^2}}}{3}} \right)\alpha $ ( $ \because I = - \left( {\dfrac{{M{L^2}}}{3}} \right) $ )
$ \Rightarrow \alpha = - \dfrac{{15K}}{{4m}}\theta $
As we know $ \alpha = - {\omega ^2}\theta $
Putting the value we get, $ {\omega ^2} = \dfrac{{15K}}{{4m}} $
$ \because \omega = 2\pi f = \sqrt {\dfrac{{15K}}{{4m}}} $
Hence, the value of frequency $ f = \dfrac{1}{{2\pi }}\sqrt {\dfrac{{15K}}{{4m}}} $
$ \therefore $ A correct answer is an option (D).
Note:
If a spring is attached to a hook and the other is attached to an object with mass and hangs down vertically. The object will have two forces. One is restoring the force of the spring directly upward. The other will be the force of gravity acting on the mass directly downward. When the mass is not moving the net force is zero.
When the rod displaced slightly from its original position the connected spring stretched. Where restoring force of one spring $ F $ is proportional to its displacement $ y $
$ \therefore {F_1} \propto y $ or, $ {F_1} = Ky $ ( $ K $ is the spring constant)
And torque $ \tau $ is proportional to the angular displacement $ \theta $
$ \therefore \tau \propto \theta $
$ \Rightarrow \tau = K\theta $
$ K $ is the torsion constant that is torque per unit angular displacement. If the moment of inertia of the body is $ I $ and the angular acceleration is $ \alpha $
Then, $ \tau = - I\alpha $ .
Complete Step By Step Answer:
Let the uniform rod be displaced slightly at the angle of $ \theta $
Displacement of the spring be $ y $ and $ {y_1} $
As the image is given we can calculate the value of $ \theta $ is, $ \theta = \dfrac{y}{L} $
Also, $ \theta = \dfrac{{{y_1}}}{{\dfrac{L}{2}}} $
$ \therefore $ $ y = L\theta $ and $ {y_1} = \dfrac{{L\theta }}{2} $
Now let the force applied on the two rods are $ {F_1} $ and $ {F_2} $
Hence the spring constant is $ K $
$ {F_1} = Ky $ $ = KL\theta $
$ {F_2} = K{y_1} $ $ = \dfrac{{KL\theta }}{2} $
The restoring Torque due to the elastic force of the spring is:
$ \tau = ({F_1}\cos \theta \dfrac{L}{2} \times {F_2}\cos \theta L) $
$ \Rightarrow \tau = \left( {\dfrac{{{F_1}}}{2} + {F_2}} \right)\cos \theta $
Here $ \theta $ is very small, hence we can assume $ \cos \theta \simeq 1 $
$ \therefore \tau = (\dfrac{{KL\theta }}{4} + KL\theta )L $
$ = \left( {\dfrac{{K\theta }}{4} + K\theta } \right){L^2} $
$ = \left( {\dfrac{{5KL\theta }}{4}} \right){L^2} $
Now, Net Torque $ \tau = \left( {\dfrac{{5KL\theta }}{4}} \right){L^2} $ $ = - I\alpha $ ( $ \alpha = $ angular acceleration)
$ \Rightarrow \left( {\dfrac{{5KL\theta }}{4}} \right){L^2} = \left( {\dfrac{{M{L^2}}}{3}} \right)\alpha $ ( $ \because I = - \left( {\dfrac{{M{L^2}}}{3}} \right) $ )
$ \Rightarrow \alpha = - \dfrac{{15K}}{{4m}}\theta $
As we know $ \alpha = - {\omega ^2}\theta $
Putting the value we get, $ {\omega ^2} = \dfrac{{15K}}{{4m}} $
$ \because \omega = 2\pi f = \sqrt {\dfrac{{15K}}{{4m}}} $
Hence, the value of frequency $ f = \dfrac{1}{{2\pi }}\sqrt {\dfrac{{15K}}{{4m}}} $
$ \therefore $ A correct answer is an option (D).
Note:
If a spring is attached to a hook and the other is attached to an object with mass and hangs down vertically. The object will have two forces. One is restoring the force of the spring directly upward. The other will be the force of gravity acting on the mass directly downward. When the mass is not moving the net force is zero.
Recently Updated Pages
Why are manures considered better than fertilizers class 11 biology CBSE

Find the coordinates of the midpoint of the line segment class 11 maths CBSE

Distinguish between static friction limiting friction class 11 physics CBSE

The Chairman of the constituent Assembly was A Jawaharlal class 11 social science CBSE

The first National Commission on Labour NCL submitted class 11 social science CBSE

Number of all subshell of n + l 7 is A 4 B 5 C 6 D class 11 chemistry CBSE

Trending doubts
10 examples of friction in our daily life

One Metric ton is equal to kg A 10000 B 1000 C 100 class 11 physics CBSE

Difference Between Prokaryotic Cells and Eukaryotic Cells

1 Quintal is equal to a 110 kg b 10 kg c 100kg d 1000 class 11 physics CBSE

State the laws of reflection of light

Explain zero factorial class 11 maths CBSE

