
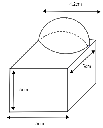
A decorative block shown in figure, it is made of two solids, a cube and a hemisphere. The base of the clock is a cube with an edge 5cm and the hemisphere fixed on the top has a diameter of 4.2cm. Find the total surface area of the block. (Take, \[\pi =\dfrac{22}{7}\])
Answer
598.2k+ views
Hint:Total surface area of the block will be the surface area of the cube with the surface area of the hemisphere. Subtract the base area of the hemisphere from total surface area to avoid doubling of area.
Complete step-by-step answer:
From the figure you can understand that the two solids are a cube and hemisphere. The hemisphere is placed on top of the cube.
Thus we need to find the total surface area of the block. Here the base of the hemisphere is on top of the cube. So it becomes double if we calculate both. Thus we need to subtract the base area of the hemisphere. Thus we can say that the total surface area of the block is the sum of areas of the cube and hemisphere, minus the area of the base of hemisphere.
\[\therefore \] Total surface area of block
= Total surface area of cube + curved surface area of hemisphere – base area of hemisphere - (1)
Now let us first find the area of the cube.
Given that the side of cube = 5cm
Thus total surface area of cube \[=6\times {{\left( side \right)}^{2}}\]
\[\begin{align}
& =6\times {{\left( 5 \right)}^{2}} \\
& =6\times 5\times 5=150c{{m}^{2}} \\
\end{align}\]
\[\therefore \] Total surface area of cube = \[150c{{m}^{2}}-(2)\]
Let us find the curved surface area of the hemisphere.
Given diameter of hemisphere = 4.2cm
Thus radius, $r = \dfrac{diameter}{2}$ = \[\dfrac{4.2}{2}=2.1\] cm
We know that,
Curved surface area of hemisphere = \[2\pi {{r}^{2}}\]
\[\begin{align}
& =2\times \dfrac{22}{7}\times {{\left( 2.1 \right)}^{2}} \\
& =2\times \dfrac{22}{7}\times 2.1\times 2.1=44\times 0.3\times 2.1 \\
& =27.72c{{m}^{2}} \\
\end{align}\]
\[\therefore \] Curved surface area of hemisphere = \[27.72c{{m}^{2}}-(3)\]
Now base area of hemisphere,
Base of the hemisphere is a circle with radius 2.1 cm.
\[\therefore \] Base area of hemisphere = area of circle = \[\pi {{r}^{2}}\]
\[\begin{align}
& =\dfrac{22}{7}\times 2.1\times 2.1=22\times 0.3\times 2.1 \\
& =13.86c{{m}^{2}} \\
\end{align}\]
\[\therefore \] Base area of hemisphere \[=13.86c{{m}^{2}}-(4)\]
Thus substitute the values of (2), (3) and (4) in equation (1).
\[\therefore \] Total surface area of block =
Total surface area of cube + curved surface area of hemisphere – base area of hemisphere.
\[\therefore \]Total surface area of block = 150 + 27.72 – 13.86 = \[163.86c{{m}^{2}}\]
Thus we got the total surface area of the block as \[163.86c{{m}^{2}}\].
Note: There are few points that you need to remember while solving this question. The base area of the hemisphere should be subtracted from the total surface area of the block. Or else the area gets repeated as the hemisphere is placed on top of the cube. And remember that the base of a cube is a circle.
Complete step-by-step answer:
From the figure you can understand that the two solids are a cube and hemisphere. The hemisphere is placed on top of the cube.
Thus we need to find the total surface area of the block. Here the base of the hemisphere is on top of the cube. So it becomes double if we calculate both. Thus we need to subtract the base area of the hemisphere. Thus we can say that the total surface area of the block is the sum of areas of the cube and hemisphere, minus the area of the base of hemisphere.
\[\therefore \] Total surface area of block
= Total surface area of cube + curved surface area of hemisphere – base area of hemisphere - (1)
Now let us first find the area of the cube.
Given that the side of cube = 5cm
Thus total surface area of cube \[=6\times {{\left( side \right)}^{2}}\]
\[\begin{align}
& =6\times {{\left( 5 \right)}^{2}} \\
& =6\times 5\times 5=150c{{m}^{2}} \\
\end{align}\]
\[\therefore \] Total surface area of cube = \[150c{{m}^{2}}-(2)\]
Let us find the curved surface area of the hemisphere.
Given diameter of hemisphere = 4.2cm
Thus radius, $r = \dfrac{diameter}{2}$ = \[\dfrac{4.2}{2}=2.1\] cm
We know that,
Curved surface area of hemisphere = \[2\pi {{r}^{2}}\]
\[\begin{align}
& =2\times \dfrac{22}{7}\times {{\left( 2.1 \right)}^{2}} \\
& =2\times \dfrac{22}{7}\times 2.1\times 2.1=44\times 0.3\times 2.1 \\
& =27.72c{{m}^{2}} \\
\end{align}\]
\[\therefore \] Curved surface area of hemisphere = \[27.72c{{m}^{2}}-(3)\]
Now base area of hemisphere,
Base of the hemisphere is a circle with radius 2.1 cm.
\[\therefore \] Base area of hemisphere = area of circle = \[\pi {{r}^{2}}\]
\[\begin{align}
& =\dfrac{22}{7}\times 2.1\times 2.1=22\times 0.3\times 2.1 \\
& =13.86c{{m}^{2}} \\
\end{align}\]
\[\therefore \] Base area of hemisphere \[=13.86c{{m}^{2}}-(4)\]
Thus substitute the values of (2), (3) and (4) in equation (1).
\[\therefore \] Total surface area of block =
Total surface area of cube + curved surface area of hemisphere – base area of hemisphere.
\[\therefore \]Total surface area of block = 150 + 27.72 – 13.86 = \[163.86c{{m}^{2}}\]
Thus we got the total surface area of the block as \[163.86c{{m}^{2}}\].
Note: There are few points that you need to remember while solving this question. The base area of the hemisphere should be subtracted from the total surface area of the block. Or else the area gets repeated as the hemisphere is placed on top of the cube. And remember that the base of a cube is a circle.
Recently Updated Pages
Why are manures considered better than fertilizers class 11 biology CBSE

Find the coordinates of the midpoint of the line segment class 11 maths CBSE

Distinguish between static friction limiting friction class 11 physics CBSE

The Chairman of the constituent Assembly was A Jawaharlal class 11 social science CBSE

The first National Commission on Labour NCL submitted class 11 social science CBSE

Number of all subshell of n + l 7 is A 4 B 5 C 6 D class 11 chemistry CBSE

Trending doubts
What is meant by exothermic and endothermic reactions class 11 chemistry CBSE

10 examples of friction in our daily life

One Metric ton is equal to kg A 10000 B 1000 C 100 class 11 physics CBSE

1 Quintal is equal to a 110 kg b 10 kg c 100kg d 1000 class 11 physics CBSE

Difference Between Prokaryotic Cells and Eukaryotic Cells

What are Quantum numbers Explain the quantum number class 11 chemistry CBSE

