
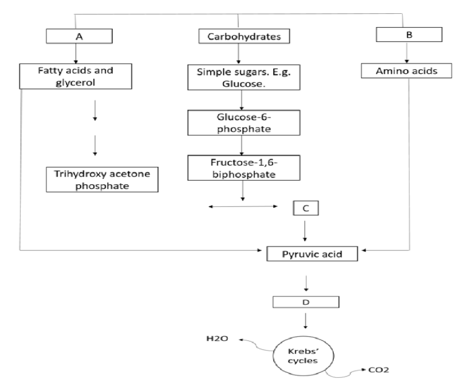
Refer to the given figure and select the correct option for A, B, C and D
A. A- Fats; B- Proteins; C- PGAL; D- Acetyl-CoA
B. A- Fats; B- Proteins; C- PGAL; D- CO2
C. A- Proteins; B- Fats; C- Acetyl-CoA; D- PEP
D. A- Proteins; B- Fats; C- PEP; D- Acetyl-CoA
Answer
564.9k+ views
Hint: All cells function as biochemical factories. Biomolecules are constantly synthesized and transformed into some other biomolecules. All these metabolic pathways occur in a series of linked chemical reactions in which one chemical is transformed into another.
Complete Answer:
A. It can be seen that due to the breakdown of ‘A’ we got fatty acids and glycerol. Hence, we can conclude that, with the polymerization of these two products (FA and glycerol) we will get Fats. Thus A represents ‘fats’.
B. As evident proteins are made up of amino acids, it can be concluded that B represents ‘proteins’. A total of 20 different amino acids exist in proteins and hundreds to thousands of These amino acids are attached to each other in long chains to form a protein.
C. In the glycolysis process, during the preparatory phase, the dihydroxyacetone phosphate (a 3 carbon compound) is rapidly and reversibly converted into Glyceraldehyde-3-phosphate (3 carbon compound), in the presence of triose phosphate isomerase. The glyceraldehyde-3- phosphate is also known as 3-phosphoglyceraldehyde (PGAL), is the metabolite that occurs as an intermediate in several central pathways of all organisms. Hence, the correct answer is PGAL.
D. After the formation of pyruvic acid in the glycolysis process, it converts into Acetyl-CoA in the presence of pyruvate dehydrogenase and enters the citric acid cycle or Krebs cycle. During this conversion a CO$_2$ molecule is released out and CoA is added. Acetyl-CoA is the substrate for the citric acid cycle.
Thus the correct option is A, “A- Fats, B- Proteins, C- PGAL, D- Acetyl-CoA”.
Note: This metabolic process serves 2 main functions: generation of energy to drive vital functions and synthesis of biological molecules. Glycolysis and the citric acid cycle produce only 4 ATP per glucose molecule, all by the substrate-level phosphorylation. 2 net ATP from glycolysis and 2 from Krebs cycle.
Complete Answer:
A. It can be seen that due to the breakdown of ‘A’ we got fatty acids and glycerol. Hence, we can conclude that, with the polymerization of these two products (FA and glycerol) we will get Fats. Thus A represents ‘fats’.
B. As evident proteins are made up of amino acids, it can be concluded that B represents ‘proteins’. A total of 20 different amino acids exist in proteins and hundreds to thousands of These amino acids are attached to each other in long chains to form a protein.
C. In the glycolysis process, during the preparatory phase, the dihydroxyacetone phosphate (a 3 carbon compound) is rapidly and reversibly converted into Glyceraldehyde-3-phosphate (3 carbon compound), in the presence of triose phosphate isomerase. The glyceraldehyde-3- phosphate is also known as 3-phosphoglyceraldehyde (PGAL), is the metabolite that occurs as an intermediate in several central pathways of all organisms. Hence, the correct answer is PGAL.
D. After the formation of pyruvic acid in the glycolysis process, it converts into Acetyl-CoA in the presence of pyruvate dehydrogenase and enters the citric acid cycle or Krebs cycle. During this conversion a CO$_2$ molecule is released out and CoA is added. Acetyl-CoA is the substrate for the citric acid cycle.
Thus the correct option is A, “A- Fats, B- Proteins, C- PGAL, D- Acetyl-CoA”.
Note: This metabolic process serves 2 main functions: generation of energy to drive vital functions and synthesis of biological molecules. Glycolysis and the citric acid cycle produce only 4 ATP per glucose molecule, all by the substrate-level phosphorylation. 2 net ATP from glycolysis and 2 from Krebs cycle.
Recently Updated Pages
Master Class 12 English: Engaging Questions & Answers for Success

Master Class 12 Business Studies: Engaging Questions & Answers for Success

Master Class 12 Economics: Engaging Questions & Answers for Success

Master Class 12 Social Science: Engaging Questions & Answers for Success

Master Class 12 Maths: Engaging Questions & Answers for Success

Master Class 12 Chemistry: Engaging Questions & Answers for Success

Trending doubts
What are the major means of transport Explain each class 12 social science CBSE

Which are the Top 10 Largest Countries of the World?

Draw a labelled sketch of the human eye class 12 physics CBSE

Explain sex determination in humans with line diag class 12 biology CBSE

Explain sex determination in humans with the help of class 12 biology CBSE

Differentiate between homogeneous and heterogeneous class 12 chemistry CBSE

