
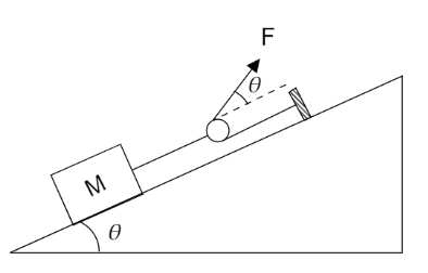
What is the minimum value of $F$ needed so that block begins to move upward on frictionless incline plane as shown
Answer
476.7k+ views
Hint: In the given question we have to find all the forces and the tension forces that work on the body $M$. Thus, we have to formulate a free body diagram here. Then by using the trigonometric ratios and Newton’s Law we will find the force $F$ that is needed to move the block upwards.
Complete step by step answer:
In the given figure, it is clear that the weight $Mg$ acts downward.By resolving the components of the weight $Mg$ we get the vertical component is $Mg\cos \theta $ and the horizontal component is $Mg\sin \theta $. The horizontal component $Mg\sin \theta $ is the force that balances the tension $T$ of the string.We can write,
$T = Mg\sin \theta - - - - - \left( 1 \right)$
Now, resolving the components of the force $F$ which is actually the tension in the string.
The horizontal component of the tension or force $F$ is $F\cos \theta $.Hence from the given diagram we get,
$T = F + F\cos \theta - - - - - \left( 2 \right)$
Comparing both the equations it is clear that,
$F + F\cos \theta = Mg\sin \theta $
Taking $F$ common from the left side of the equation we get,
$F\left( {1 + \cos \theta } \right) = Mg\sin \theta $
From the half angle formula of the trigonometry we get,
$F\left( {2{{\cos }^2}\dfrac{\theta }{2}} \right) = Mg\left( {2\sin \dfrac{\theta }{2}\cos \dfrac{\theta }{2}} \right)$
Dividing both sides by $2\cos \dfrac{\theta }{2}$ we get,
$F\left( {\cos \dfrac{\theta }{2}} \right) = Mg\left( {\sin \dfrac{\theta }{2}} \right)$
Arranging the equation we get,
$F = Mg\left( {\dfrac{{\sin \dfrac{\theta }{2}}}{{\cos \dfrac{\theta }{2}}}} \right) \\
\therefore F= Mg\tan \dfrac{\theta }{2}$
So, the minimum value of force $F$ must be $Mg\tan \dfrac{\theta }{2}$ in order to move the block upward.
Note: It must be noted that the given question stated that the plane is frictionless. If there is friction on the surface, it will oppose the motion of the body. Thus, we have calculated a force in opposite direction to the force required to move the body upwards to find the equation of the forces that balances each other.
Complete step by step answer:
In the given figure, it is clear that the weight $Mg$ acts downward.By resolving the components of the weight $Mg$ we get the vertical component is $Mg\cos \theta $ and the horizontal component is $Mg\sin \theta $. The horizontal component $Mg\sin \theta $ is the force that balances the tension $T$ of the string.We can write,
$T = Mg\sin \theta - - - - - \left( 1 \right)$
Now, resolving the components of the force $F$ which is actually the tension in the string.
The horizontal component of the tension or force $F$ is $F\cos \theta $.Hence from the given diagram we get,
$T = F + F\cos \theta - - - - - \left( 2 \right)$
Comparing both the equations it is clear that,
$F + F\cos \theta = Mg\sin \theta $
Taking $F$ common from the left side of the equation we get,
$F\left( {1 + \cos \theta } \right) = Mg\sin \theta $
From the half angle formula of the trigonometry we get,
$F\left( {2{{\cos }^2}\dfrac{\theta }{2}} \right) = Mg\left( {2\sin \dfrac{\theta }{2}\cos \dfrac{\theta }{2}} \right)$
Dividing both sides by $2\cos \dfrac{\theta }{2}$ we get,
$F\left( {\cos \dfrac{\theta }{2}} \right) = Mg\left( {\sin \dfrac{\theta }{2}} \right)$
Arranging the equation we get,
$F = Mg\left( {\dfrac{{\sin \dfrac{\theta }{2}}}{{\cos \dfrac{\theta }{2}}}} \right) \\
\therefore F= Mg\tan \dfrac{\theta }{2}$
So, the minimum value of force $F$ must be $Mg\tan \dfrac{\theta }{2}$ in order to move the block upward.
Note: It must be noted that the given question stated that the plane is frictionless. If there is friction on the surface, it will oppose the motion of the body. Thus, we have calculated a force in opposite direction to the force required to move the body upwards to find the equation of the forces that balances each other.
Recently Updated Pages
Master Class 12 Business Studies: Engaging Questions & Answers for Success

Master Class 12 Economics: Engaging Questions & Answers for Success

Master Class 12 English: Engaging Questions & Answers for Success

Master Class 12 Maths: Engaging Questions & Answers for Success

Master Class 12 Social Science: Engaging Questions & Answers for Success

Master Class 12 Chemistry: Engaging Questions & Answers for Success

Trending doubts
What is meant by exothermic and endothermic reactions class 11 chemistry CBSE

Which animal has three hearts class 11 biology CBSE

10 examples of friction in our daily life

One Metric ton is equal to kg A 10000 B 1000 C 100 class 11 physics CBSE

1 Quintal is equal to a 110 kg b 10 kg c 100kg d 1000 class 11 physics CBSE

Difference Between Prokaryotic Cells and Eukaryotic Cells

