
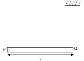
A rod PQ of mass \[M\] and length \[L\] is hinged at point P. The rod is kept horizontal by a massless string tied at point Q as shown in fig. When string is cut, the initial angular acceleration of the rod is:
A. \[\dfrac{{3g}}{{2L}}\]
B. \[\dfrac{g}{L}\]
C. \[\dfrac{{2g}}{L}\]
D. \[\dfrac{{2g}}{{3L}}\]
Answer
555.6k+ views
Hint:Use the formula for torque acting on an object in terms of angular acceleration and moment of inertial of the object. Also use the formula for torque acting on the object due to a force acting on it. Equate both of these formulae for torque acting on the rod and substitute the value of moment of inertia acting on the object in this relation to determine the value of initial angular acceleration.
Formulae used:
The torque \[\tau \] acting on an object is
\[\tau = I\alpha \] …… (1)
Here, \[I\] is the moment of inertia of the object and \[\alpha \] is angular acceleration of the object.
The torque \[\tau \] acting on an object due to a force is
\[\tau = Fr\] …… (2)
Here, \[r\] is the perpendicular distance between the point of action of the force and centre of torque.
The moment of inertia \[I\] of the rod about its one end is
\[I = \dfrac{{M{L^2}}}{3}\] …… (3)
Here, \[M\] is the mass of the rod and \[L\] is the length of the rod.
Complete step by step answer:
We have given that the mass of the rod is \[M\] and length of the rod is \[L\]. If the string holding the rod in position is cut then the rod starts rotating about point P at which the rod is hinged. Let \[\alpha \] be the angular acceleration of the rod when it starts rotating. The only force acting on the rod when rotating is its weight acting at the centre of its length. Hence, the torque acting on the rod according to equation (2) is
\[\tau = Mg\dfrac{L}{2}\]
Substitute \[I\alpha \] for \[\tau \] in the above equation.
\[I\alpha = Mg\dfrac{L}{2}\]
Rearrange the above equation for \[\alpha \].
\[\alpha = Mg\dfrac{L}{{2I}}\]
The moment of inertia of the rod about the point P is given by equation (3).
Substitute \[\dfrac{{M{L^2}}}{3}\] for \[I\] in the above equation.
\[\alpha = Mg\dfrac{L}{{2\left( {\dfrac{{M{L^2}}}{3}} \right)}}\]
\[ \therefore \alpha = \dfrac{{3g}}{{2L}}\]
Therefore, the initial angular acceleration of the rod is \[\dfrac{{3g}}{{2L}}\].
Hence, the correct option is A.
Note:The students should keep in mind that the weight of an object always acts at its centre of gravity. Hence, the students should use the distance between the weight of the rod and the point P while determining the torque due to weight of the rod as half of the length of the rod as its weight acts at its centre of gravity which is at its midpoint.
Formulae used:
The torque \[\tau \] acting on an object is
\[\tau = I\alpha \] …… (1)
Here, \[I\] is the moment of inertia of the object and \[\alpha \] is angular acceleration of the object.
The torque \[\tau \] acting on an object due to a force is
\[\tau = Fr\] …… (2)
Here, \[r\] is the perpendicular distance between the point of action of the force and centre of torque.
The moment of inertia \[I\] of the rod about its one end is
\[I = \dfrac{{M{L^2}}}{3}\] …… (3)
Here, \[M\] is the mass of the rod and \[L\] is the length of the rod.
Complete step by step answer:
We have given that the mass of the rod is \[M\] and length of the rod is \[L\]. If the string holding the rod in position is cut then the rod starts rotating about point P at which the rod is hinged. Let \[\alpha \] be the angular acceleration of the rod when it starts rotating. The only force acting on the rod when rotating is its weight acting at the centre of its length. Hence, the torque acting on the rod according to equation (2) is
\[\tau = Mg\dfrac{L}{2}\]
Substitute \[I\alpha \] for \[\tau \] in the above equation.
\[I\alpha = Mg\dfrac{L}{2}\]
Rearrange the above equation for \[\alpha \].
\[\alpha = Mg\dfrac{L}{{2I}}\]
The moment of inertia of the rod about the point P is given by equation (3).
Substitute \[\dfrac{{M{L^2}}}{3}\] for \[I\] in the above equation.
\[\alpha = Mg\dfrac{L}{{2\left( {\dfrac{{M{L^2}}}{3}} \right)}}\]
\[ \therefore \alpha = \dfrac{{3g}}{{2L}}\]
Therefore, the initial angular acceleration of the rod is \[\dfrac{{3g}}{{2L}}\].
Hence, the correct option is A.
Note:The students should keep in mind that the weight of an object always acts at its centre of gravity. Hence, the students should use the distance between the weight of the rod and the point P while determining the torque due to weight of the rod as half of the length of the rod as its weight acts at its centre of gravity which is at its midpoint.
Recently Updated Pages
Why are manures considered better than fertilizers class 11 biology CBSE

Find the coordinates of the midpoint of the line segment class 11 maths CBSE

Distinguish between static friction limiting friction class 11 physics CBSE

The Chairman of the constituent Assembly was A Jawaharlal class 11 social science CBSE

The first National Commission on Labour NCL submitted class 11 social science CBSE

Number of all subshell of n + l 7 is A 4 B 5 C 6 D class 11 chemistry CBSE

Trending doubts
Differentiate between an exothermic and an endothermic class 11 chemistry CBSE

10 examples of friction in our daily life

One Metric ton is equal to kg A 10000 B 1000 C 100 class 11 physics CBSE

Difference Between Prokaryotic Cells and Eukaryotic Cells

1 Quintal is equal to a 110 kg b 10 kg c 100kg d 1000 class 11 physics CBSE

State the laws of reflection of light

